| # | Part | Description | Price | Req | Notes | Availability |
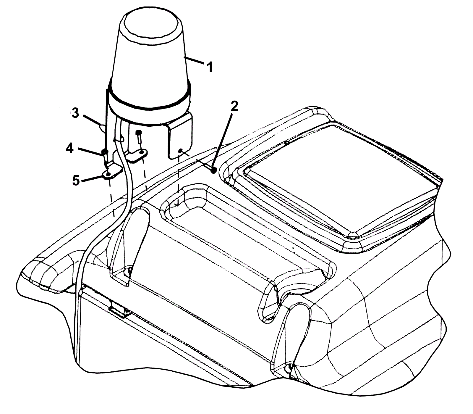
1 |
273-1118
|
36V flashing amber light |
$394.30
|
1 |
|
usually ships 1-5 days |
2 |
999-1390
|
Screw 10-12 x 3/4 truss head phillips stainless steel |
$0.99
|
3 |
|
ships same day |
3 |
173-3236
|
Wire tie |
$7.24
|
5 |
|
usually ships 11-15 days |
4 |
173-5050
|
Bolt 1/4-14 hex washer head tek 3 |
$5.50
|
3 |
|
usually ships 1-5 days |
5 |
273-1119
|
Light mounting bracket |
$108.35
|
1 |
|
usually ships 1-5 days |