| # | Part | Description | Price | Req | Notes | Availability |
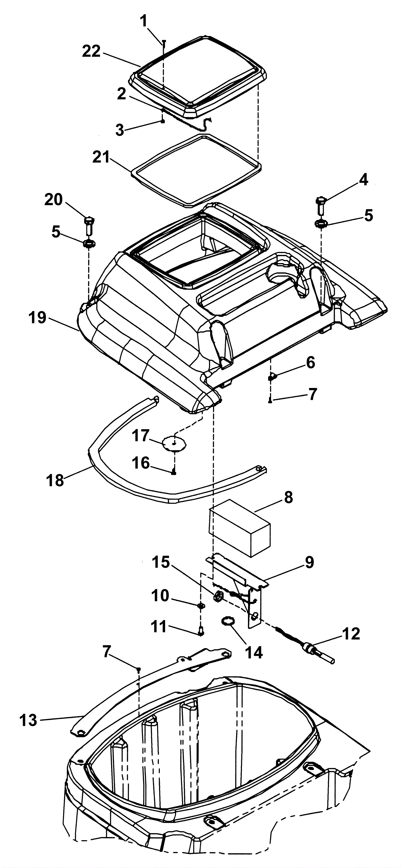
1 |
999-0447
|
Screw 6-32 x 1/2 pan head phillips zinc plated |
$0.99
|
1 |
|
ships same day |
2 |
173-8262
|
Eye lanyard with loop |
$44.61
|
1 |
|
usually ships 11-15 days |
3 |
173-5037
|
Nut 6-32 elastic stop (OBSOLETE) |
$1.25
|
1 |
|
usually ships 11-15 days |
4 |
999-0911
|
Screw 5/16-18 x 3 hex head stainless steel |
$4.75
|
2 |
|
ships same day |
5 |
999-1364
|
Washer 5/16 x 1 fender zinc finish |
$0.99
|
4 |
|
ships same day |
6 |
173-1800
|
5/16 nylon clamp (OBSOLETE) |
$0.99
|
4 |
|
usually ships 11-15 days |
7 |
999-0458
|
Screw 8 x 1/2 pan head phillips T-A sheet metal zinc |
$0.99
|
5 |
|
ships same day |
8 |
273-1078
|
Vacuum filter |
$30.95
|
1 |
|
usually ships 11-15 days |
9 |
273-1079
|
Bracket |
$108.88
|
1 |
|
usually ships 1-5 days |
10 |
999-0549
|
Washer 5/16 x 3/4 SAE flat stainless steel |
$0.99
|
2 |
|
ships same day |
11 |
999-1207
|
Screw 5/16-18 x 2 1/2 hex head stainless steel |
$2.42
|
2 |
|
ships same day |
12 |
273-1080
|
Float switch |
$269.53
|
1 |
|
usually ships 11-15 days |
13 |
273-1081
|
Mounting plate |
$150.66
|
1 |
|
usually ships 1-5 days |
14 |
173-0822
|
Wire tie |
$1.06
|
1 |
|
usually ships 11-15 days |
15 |
173-5691
|
Nut 1/2 nickel plated thread plastic |
$15.29
|
1 |
|
usually ships 1-5 days |
16 |
173-1577
|
Tree clip |
$6.01
|
1 |
|
usually ships 11-15 days |
17 |
173-3600
|
Drain valve |
$14.25
|
1 |
|
usually ships 1-5 days |
18 |
173-5400
|
Tank lid gasket |
$34.73
|
2 |
|
usually ships 11-15 days |
19 |
273-1082
|
Tank cover |
$627.34
|
1 |
|
usually ships 1-5 days |
20 |
999-0551
|
Bolt 5/16-18 x 1 3/4 hex head stainless steel |
$1.63
|
2 |
|
ships same day |
21 |
173-8567
|
Tank lid gasket |
$40.84
|
1 |
|
usually ships 11-15 days |
22 |
173-2774
|
Tank lid |
$173.02
|
1 |
|
usually ships 11-15 days |