| # | Part | Description | Price | Req | Notes | Availability | 
|---|
          
            
            
                
                  
                  
                  
				       
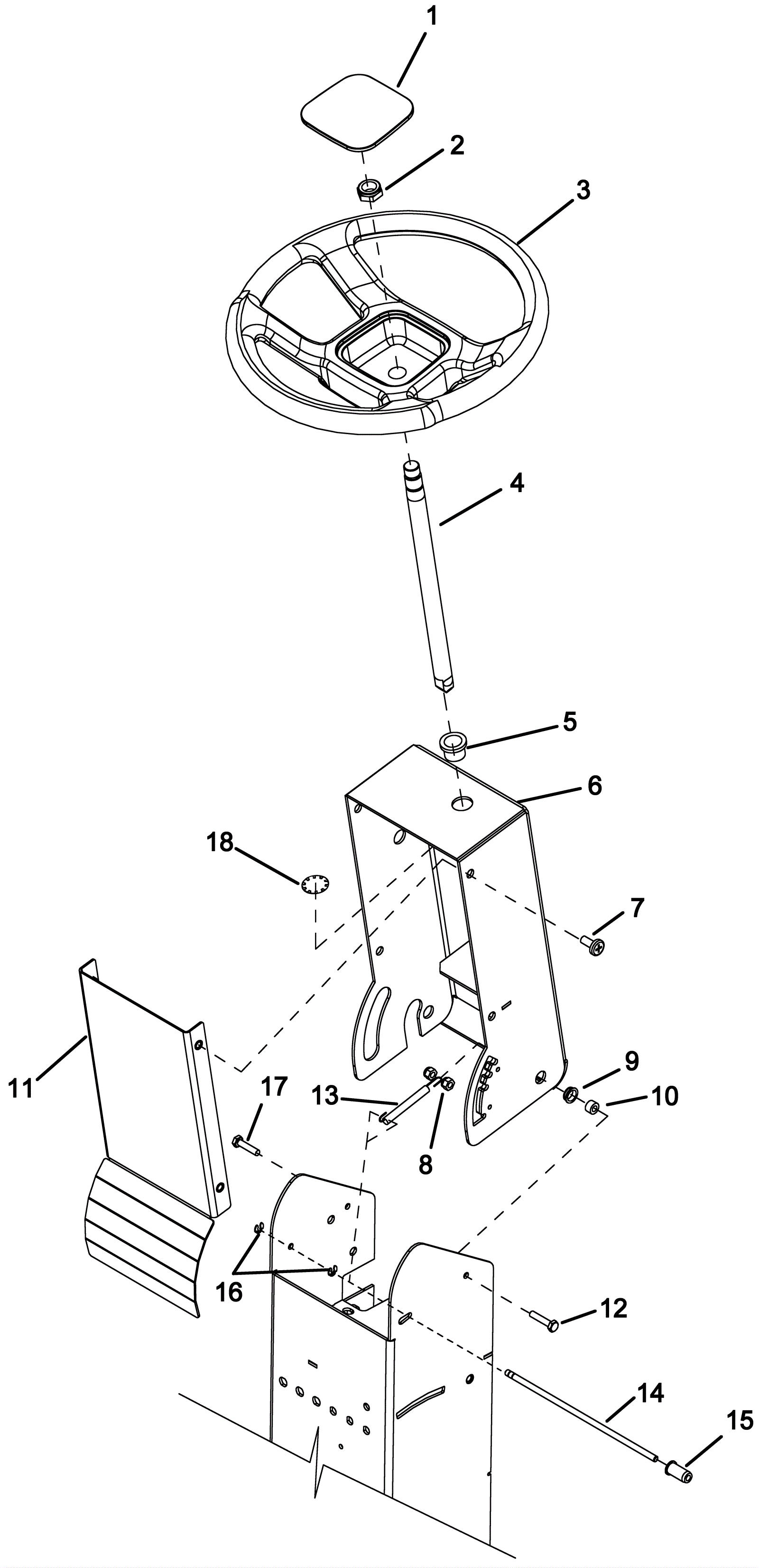
				      1 | 173-5550 | Steering wheel cover | $20.01 | 1 |  | usually ships 11-15 days | 2 | 173-5057 | Nut 5/8-16 elastic stop | $0.99 | 1 |  | usually ships 11-15 days | 3 | 173-5551 | Steering wheel | $351.92 | 1 |  | usually ships 11-15 days | 4 | 273-1056 | Upper steering shaft | $250.80 | 1 |  | usually ships 1-5 days | 5 | 173-7161 | Flanged bearing | $16.13 | 2 |  | usually ships 11-15 days | 6a | 273-1057 | Upper steering column | $330.00 | 1 | (28 and 32) | usually ships 1-5 days | 6b | 273-1058 | Upper steering column | $232.10 | 1 | (36) | usually ships 1-5 days | 7 | 999-1146 | Screw 5/16-18 x 3/4 truss head phillips stainless steel | $1.41 | 4 |  | ships same day | 8 | 999-0294 | Nut 1/4-20 hex nylon lock type NE stainless steel | $1.18 | 3 |  | ships same day | 9 | 173-2337 | 1/2 cylinder bearing | $6.59 | 2 |  | usually ships 11-15 days | 10 | 273-1059 | Bushing | $122.41 | 2 |  | usually ships 1-5 days | 11 | 273-1060 | Steering column cover | $139.70 | 1 |  | usually ships 1-5 days | 12 | 999-0136 | Bolt 1/4-20 x 1 1/4 hex head grade 5 zinc plated | $0.99 | 1 |  | ships same day | 13 | 173-8223 | Extension spring | $61.60 | 1 |  | usually ships 11-15 days | 14 | 273-1061 | Steering lock rod | $165.96 | 1 |  | usually ships 1-5 days | 15 | 173-5053 | Nut 1/4-20 well (OBSOLETE) | $5.45 | 1 |  | usually ships 11-15 days | 16 | 173-8224 | 1/4 clip ring | $0.99 | 2 |  | usually ships 11-15 days | 17 | 999-9072 | Bolt 1/4-20 x 1 hex head cap | $7.32 | 1 |  | ships same day | 18 | 173-0928 | Nut 7/8 pushlock | $5.50 | 2 |  | usually ships 1-5 days |