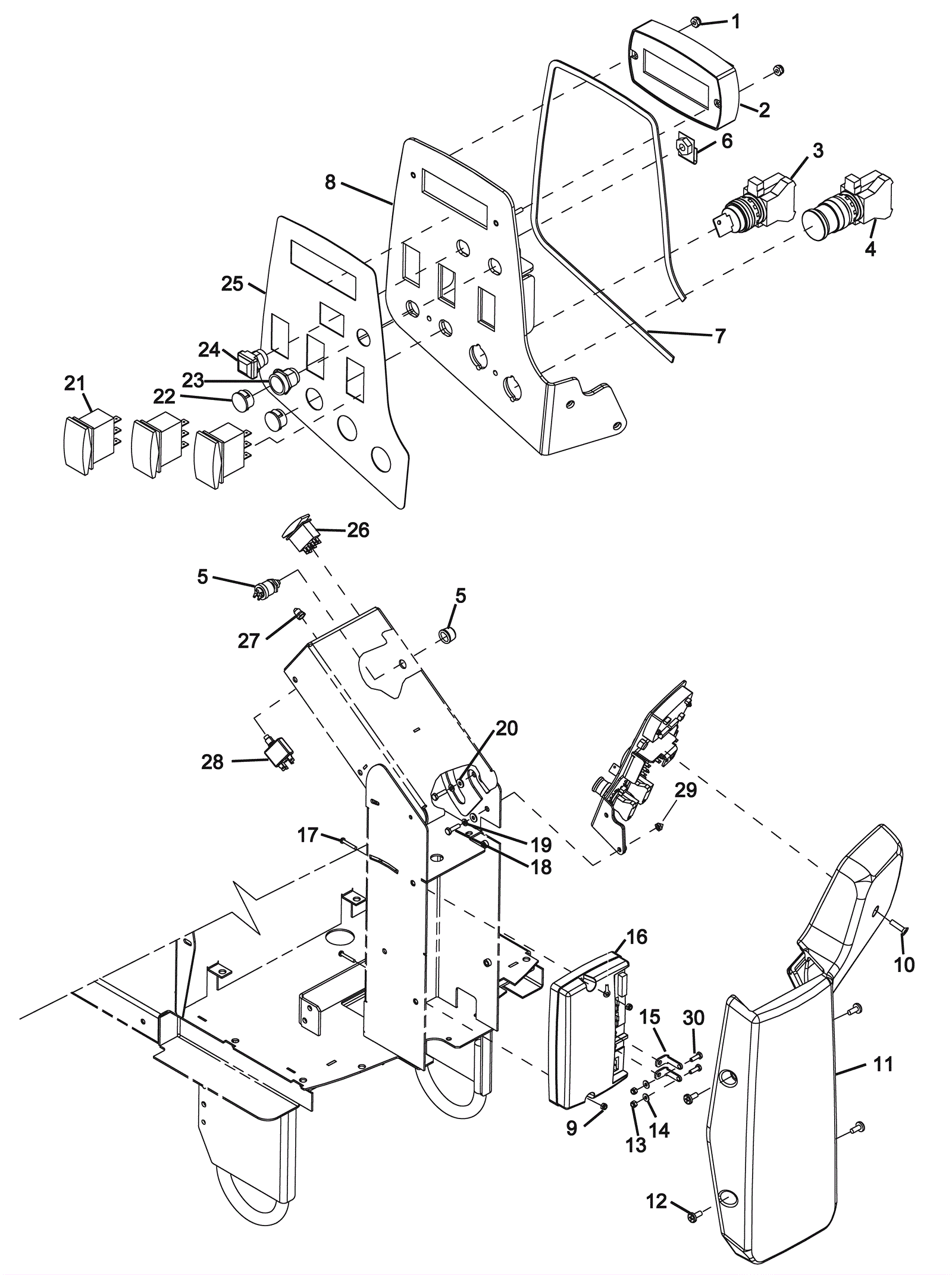
# | Part | Description | Price | Req | Notes | Availability |
1 |
173-5037
|
Nut 6-32 elastic stop (OBSOLETE) |
$1.25
|
2 |
|
usually ships 11-15 days |
2 |
273-6120
|
LCD module |
$653.24
|
1 |
|
usually ships 11-15 days |
3a |
173-8560
|
Master key switch |
$351.92
|
1 |
|
usually ships 11-15 days |
3b |
173-3958
|
Key (pkg of 2) |
$31.90
|
1 |
|
ships same day |
4 |
173-1531
|
Emergency stop switch |
$313.08
|
1 |
|
usually ships 1-5 days |
5 |
173-3502
|
Momentary switch |
$82.98
|
1 |
|
usually ships 11-15 days |
6 |
173-3935
|
Nut 5/16-18 captive jam (OBSOLETE) |
$5.50
|
1 |
|
usually ships 11-15 days |
7 |
273-6121
|
Gasket |
$8.29
|
1 |
|
usually ships 1-5 days |
8 |
273-6122
|
Control panel |
$187.00
|
1 |
|
usually ships 1-5 days |
9 |
999-0442
|
Nut 10-24 nylon insert lock stainless steel |
$1.76
|
2 |
|
ships same day |
10 |
999-1385
|
Screw 5/16-18 x 1 1/4 flat head phillips stainless steel |
$1.61
|
1 |
|
ships same day |
11 |
273-6124
|
Front cover |
$415.48
|
1 |
|
usually ships 1-5 days |
12 |
999-1146
|
Screw 5/16-18 x 3/4 truss head phillips stainless steel |
$1.41
|
4 |
|
ships same day |
13 |
999-0895
|
Nut 5/16-18 flex type lock cadmium plated |
$1.43
|
2 |
|
ships same day |
14 |
999-0549
|
Washer 5/16 x 3/4 SAE flat stainless steel |
$0.99
|
2 |
|
ships same day |
15 |
173-4366
|
Bracket |
$7.06
|
2 |
|
usually ships 1-5 days |
16a |
273-6125
|
Glide controller |
$1,989.13
|
1 |
(28 and 32) |
usually ships 11-15 days |
16b |
273-6126
|
Glide controller |
$1,983.25
|
1 |
(36) |
usually ships 1-5 days |
16c |
N/A
|
Not available |
Call for price
|
1 |
(Gel controller) (28 and 32) (sealed batteries) |
usually ships 3-26 days |
16d |
273-6128
|
Gel glide controller |
$1,573.00
|
1 |
(36) (sealed batteries) |
usually ships 1-5 days |
17 |
999-0359
|
Screw 10-32 x 1 1/4 pan head phillips zinc plated |
$0.99
|
2 |
|
ships same day |
18 |
999-9072
|
Bolt 1/4-20 x 1 hex head cap |
$7.32
|
2 |
|
ships same day |
19 |
999-1049
|
Washer 1/4 split lock zinc plated |
$0.99
|
2 |
|
ships same day |
20 |
999-0123
|
Washer 1/4 SAE flat zinc plated |
$0.99
|
2 |
|
ships same day |
21 |
173-8628
|
3 position momentary switch |
$72.39
|
3 |
|
usually ships 11-15 days |
22 |
273-6129
|
Plug |
$2.24
|
2 |
|
usually ships 1-5 days |
23 |
173-6026
|
Push button switch |
$140.06
|
1 |
|
usually ships 1-5 days |
24 |
273-6131
|
Sealed square push button switch assembly |
$103.95
|
1 |
|
usually ships 1-5 days |
25 |
273-6132
|
Control panel decal |
$143.59
|
1 |
|
usually ships 1-5 days |
26 |
189-0321
|
3 position rocker switch |
$65.91
|
1 |
(36) |
usually ships 11-15 days |
27 |
189-0312
|
3/8 inch circuit breaker boot |
$59.75
|
1 |
(36) |
usually ships 12-17 days |
28 |
273-6133
|
2amp circuit breaker |
$73.15
|
1 |
(36) |
usually ships 1-5 days |
29 |
999-1344
|
Nut 1/4-20 acorn stainless steel |
$1.38
|
1 |
|
ships same day |
30 |
999-0031
|
Bolt 5/16-18 x 1 hex head grade 5 zinc plated |
$0.99
|
2 |
|
ships same day |