| # | Part | Description | Price | Req | Notes | Availability |
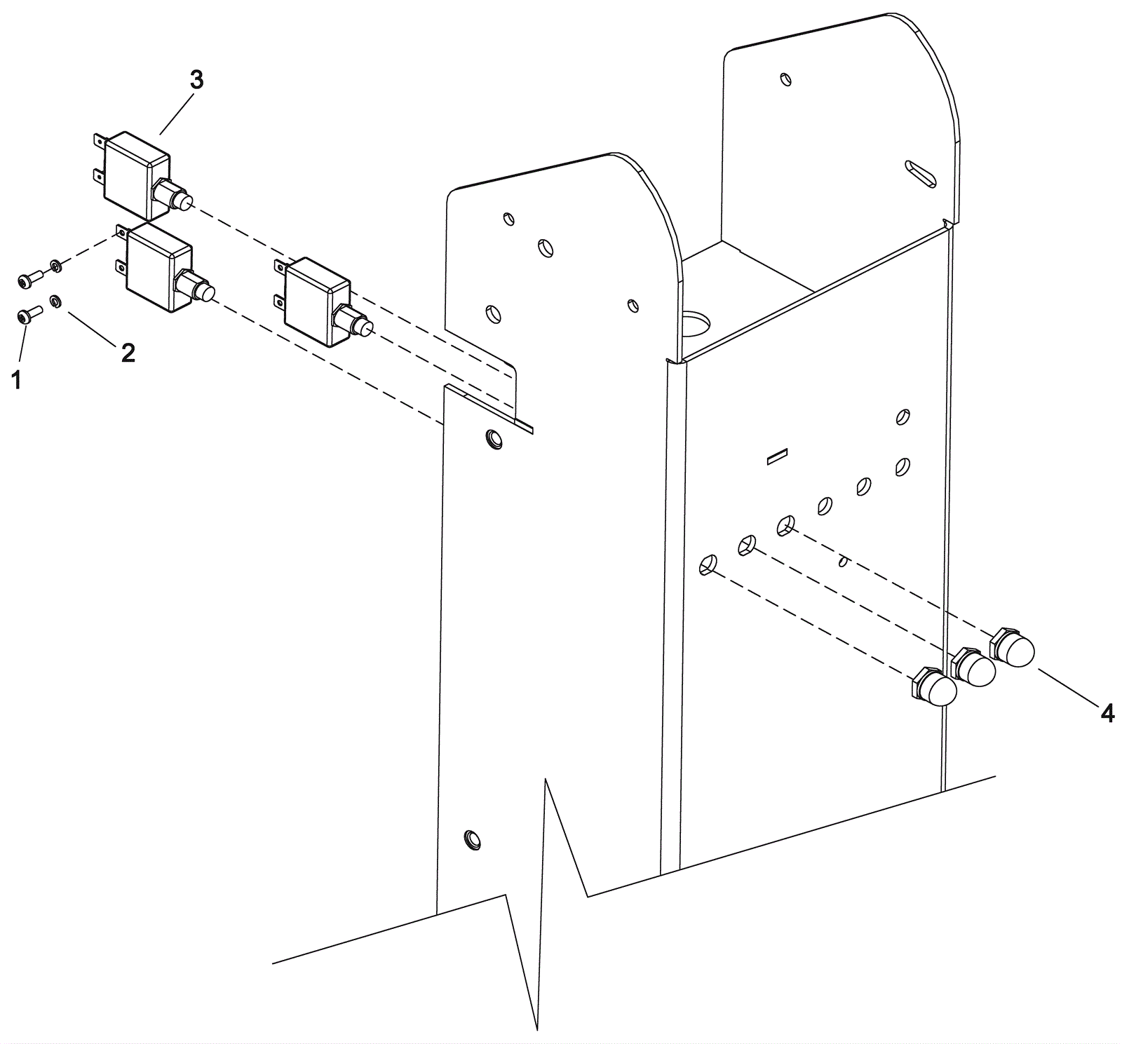
1a |
999-0336
|
Screw 6-32 x 3/8 pan head phillips stainless steel |
$0.99
|
4 |
(28 and 32) |
ships same day |
1b |
999-0336
|
Screw 6-32 x 3/8 pan head phillips stainless steel |
$0.99
|
6 |
(36) |
ships same day |
2a |
999-0051
|
Washer #6 medium split lock |
$0.99
|
4 |
(28 and 32) |
ships same day |
2b |
999-0051
|
Washer #6 medium split lock |
$0.99
|
6 |
(36) |
ships same day |
3a |
991-1632
|
25amp circuit breaker |
$10.55
|
2 |
(28 and 32) (brush motor) |
ships same day |
3b |
991-1632
|
25amp circuit breaker |
$10.55
|
3 |
(36) (brush motor) |
ships same day |
4a |
173-1522
|
3/8 inch circuit breaker boot |
$27.07
|
2 |
(28 and 32) |
ships same day |
4b |
173-1522
|
3/8 inch circuit breaker boot |
$27.07
|
3 |
(36) |
ships same day |
4c |
991-5157
|
3/8 inch circuit breaker boot |
$2.11
|
2/3 |
(NON-OEM) |
ships same day |