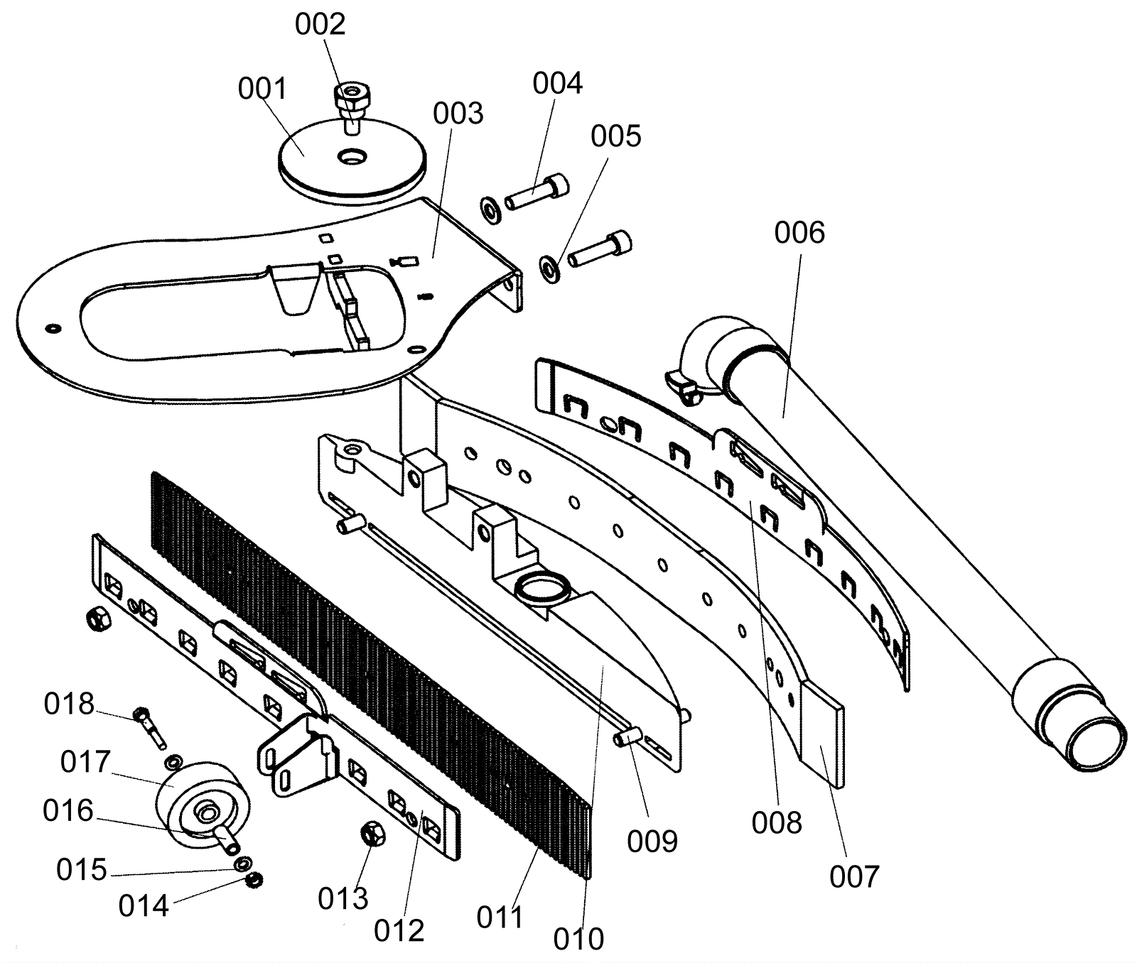
Squeegee Tool Right- 6mm
Click to enlarge