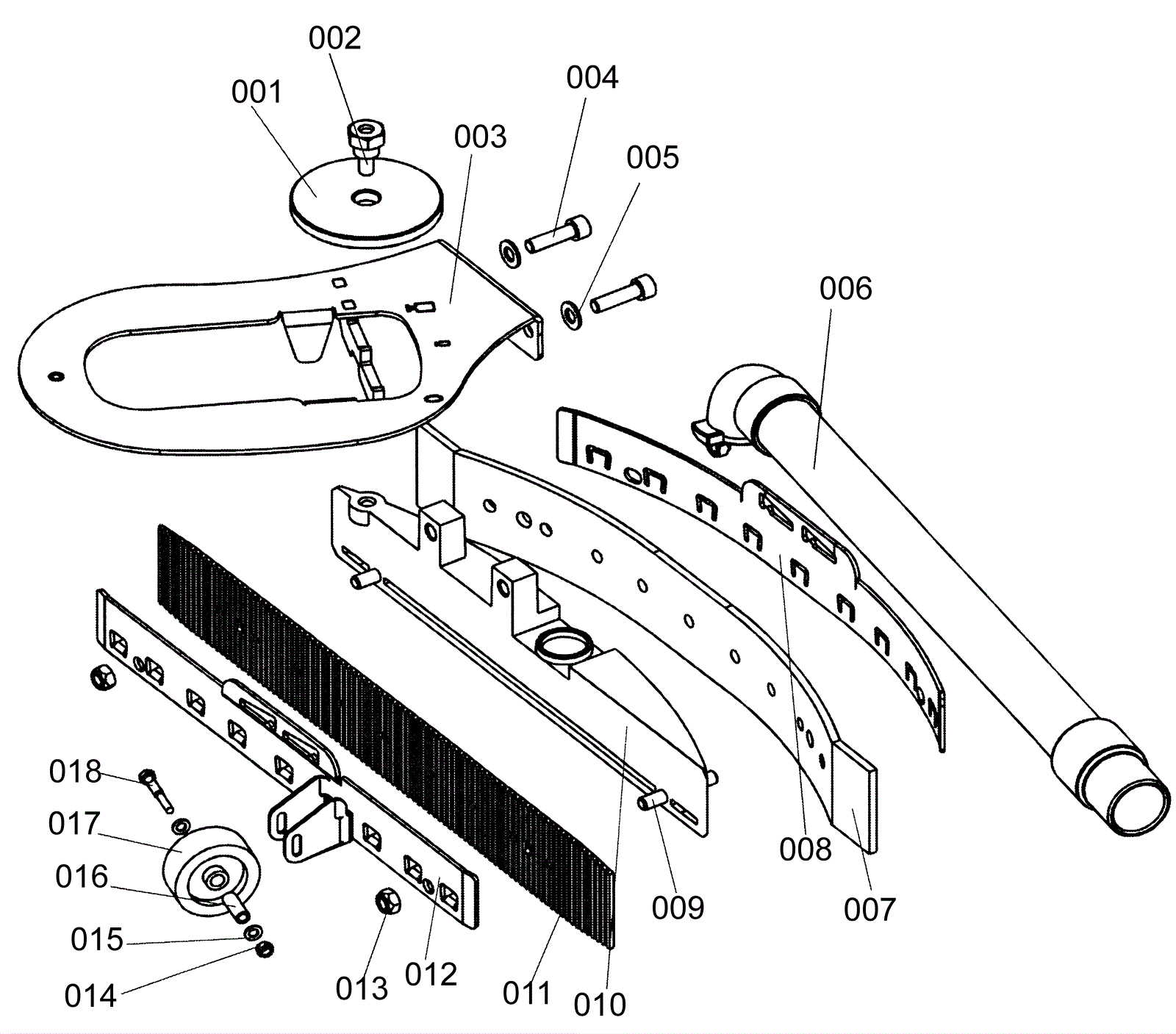
Squeegee Tool Right- 4mm
Click to enlarge