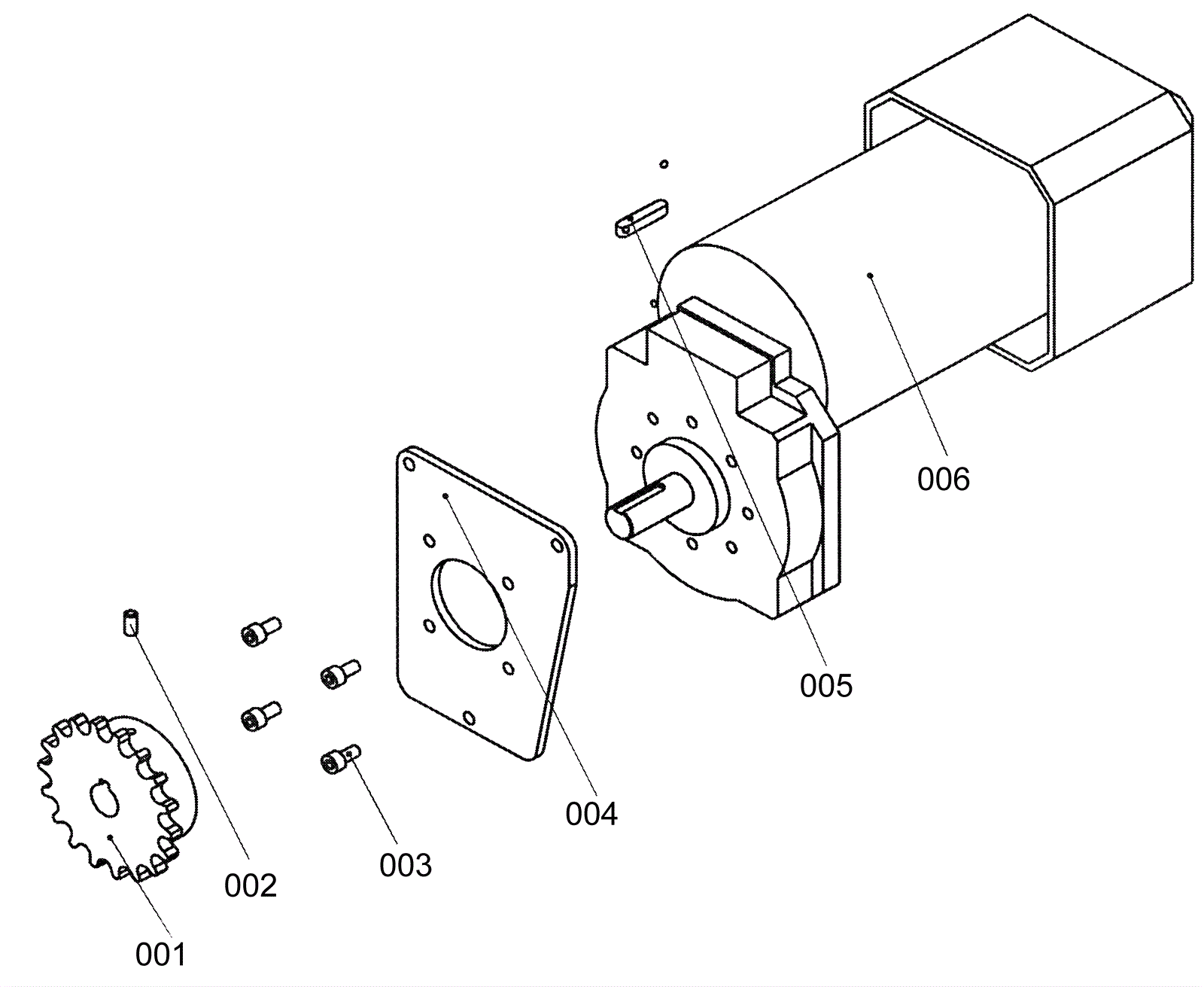
Drive Motor
Click to enlarge