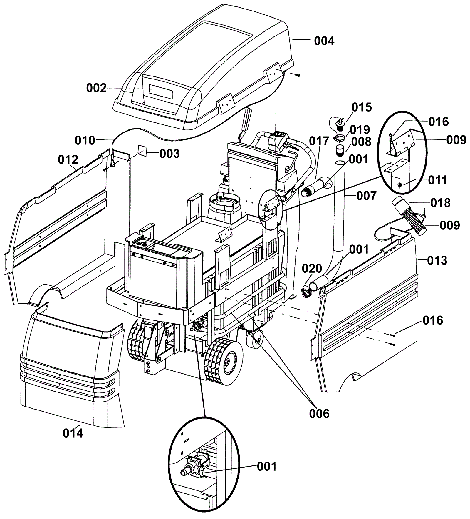
| # | Part | Description | Price | Req | Notes | Availability |
001 |
173-1821
|
Hose clamp |
$6.83
|
2 |
|
ships same day |
002 |
173-0253
|
Warning explosion decal |
$13.97
|
1 |
|
usually ships 1-5 days |
003 |
173-1282
|
For safety decal |
$10.30
|
1 |
|
usually ships 1-5 days |
004 |
173-7187
|
Machine cover (OBSOLETE) |
$482.44
|
1 |
|
usually ships 1-5 days |
005 |
173-2801
|
Hose 1 1/2 black |
$30.91
|
1 |
|
usually ships 11-15 days |
006 |
173-3047
|
1/2 clear hose (OBSOLETE) |
$11.36
|
2 |
|
usually ships 1-5 days |
007 |
173-1216
|
Drain hose 1 1/2 x 24 inch |
$111.82
|
1 |
|
usually ships 11-15 days |
008 |
189-4130
|
1/2 inch hosebarb |
$27.94
|
1 |
|
usually ships 12-17 days |
009 |
173-7188
|
Hood hinge (OBSOLETE) |
$30.67
|
2 |
|
usually ships 1-5 days |
010 |
173-1109
|
Tank lanyard |
$6.11
|
1 |
|
usually ships 1-5 days |
011 |
999-0152
|
Nut 1/4-20 nylon insert lock zinc plated |
$0.99
|
6 |
|
ships same day |
012 |
N/A
|
Not available |
Call for price
|
1 |
Right side panel |
usually ships 3-26 days |
013 |
N/A
|
Not available |
Call for price
|
1 |
Left side panel |
usually ships 3-26 days |
014 |
N/A
|
Not available |
Call for price
|
1 |
Front panel |
usually ships 3-26 days |
015 |
173-1213
|
Drain plug |
$124.76
|
1 |
|
ships same day |
016 |
999-0629
|
Screw 1/4-20 x 3/4 pan head thread cutting slotted zinc |
$1.03
|
28 |
|
ships same day |
017 |
173-7189
|
Vacuum inlet assembly (OBSOLETE) |
$55.41
|
1 |
|
usually ships 11-15 days |
018 |
173-2318
|
Vacuum hose cuff |
$39.90
|
1 |
|
usually ships 11-15 days |
019 |
189-4122
|
Hose clamp |
$11.59
|
1 |
|
usually ships 11-15 days |
020 |
997-2007
|
Hose clamp |
$2.07
|
1 |
|
ships same day |