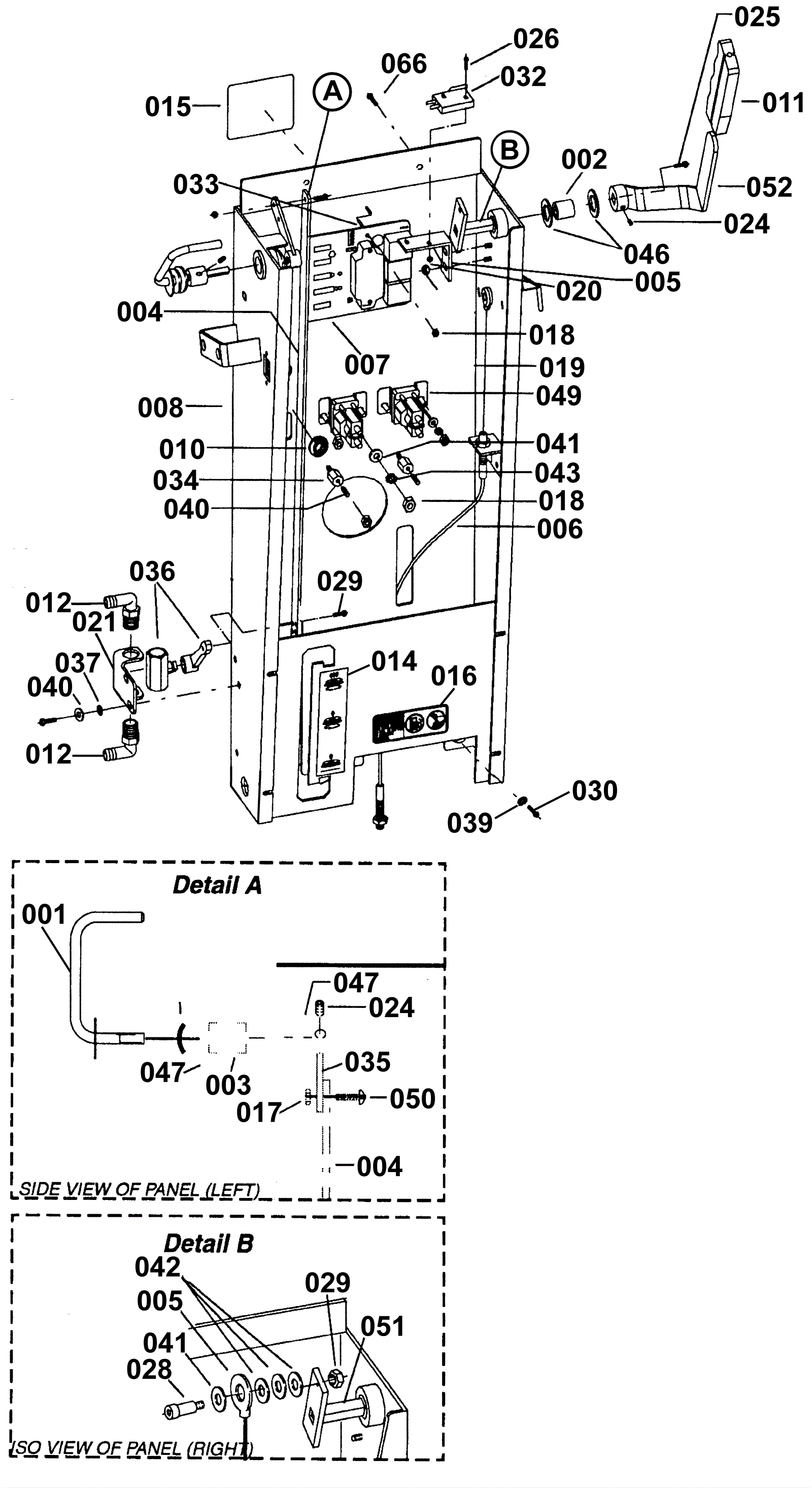
| # | Part | Description | Price | Req | Notes | Availability |
001 |
173-1177
|
5/16 inch bent arm (OBSOLETE) |
$104.17
|
1 |
|
usually ships 1-5 days |
002 |
173-1171
|
.75 inchD x .376 inchsq brushing (OBSOLETE) |
$33.08
|
1 |
|
usually ships 1-5 days |
003 |
173-7148
|
Bushing 3/4 x 5/16 x 3/4 |
$77.55
|
1 |
|
usually ships 1-5 days |
004 |
173-7149
|
Solution valve link bracket (OBSOLETE) |
$17.36
|
1 |
|
usually ships 1-5 days |
005 |
173-1168
|
Microswitch mounting bracket (OBSOLETE) |
$37.59
|
1 |
|
usually ships 1-5 days |
006 |
173-7150
|
Squeegee lift cable assembly |
$73.29
|
1 |
|
usually ships 1-5 days |
007 |
189-0313
|
24V motor controller |
$1,113.88
|
1 |
|
usually ships 12-17 days |
008 |
173-7151
|
Rear tower frame assembly (OBSOLETE) |
$386.16
|
1 |
|
usually ships 1-5 days |
009 |
173-7144
|
Switch plate gasket (OBSOLETE) |
$40.24
|
1 |
|
usually ships 1-5 days |
010 |
173-1891
|
Grommet |
$5.50
|
1 |
|
usually ships 1-5 days |
011 |
173-1169
|
Flat bar grip 3/16 x 1 inch |
$9.71
|
1 |
|
usually ships 1-5 days |
012 |
173-1072
|
Hosebarb 3/8 x 1/2 inch |
$9.89
|
2 |
|
usually ships 11-15 days |
013 |
173-7152
|
Harness (OBSOLETE) |
$186.89
|
1 |
|
usually ships 1-5 days |
014 |
173-7153
|
Scrub deck indicator label (OBSOLETE) |
$12.63
|
1 |
|
usually ships 1-5 days |
015 |
173-7154
|
Warning label (OBSOLETE) |
$17.09
|
1 |
|
usually ships 1-5 days |
016 |
173-0253
|
Warning explosion decal |
$13.97
|
1 |
|
usually ships 1-5 days |
017 |
999-0086
|
Nut 10-32 nylon insert lock zinc plated |
$0.99
|
7 |
|
ships same day |
018 |
999-0152
|
Nut 1/4-20 nylon insert lock zinc plated |
$0.99
|
9 |
|
ships same day |
020 |
999-0295
|
Nut 4-40 nylon insert lock stainless steel |
$0.99
|
2 |
|
ships same day |
021 |
173-7155
|
Solution valve plate bracket (OBSOLETE) |
$24.44
|
1 |
|
usually ships 1-5 days |
023 |
999-0371
|
Screw 10-32 x 1/2 pan head phillips zinc plated |
$0.99
|
2 |
|
ships same day |
024 |
173-4900
|
Screw 1/4-20 x 3/8 set (OBSOLETE) |
$2.24
|
2 |
|
usually ships 11-15 days |
025 |
999-0383
|
Screw 1/4-20 x 1/2 button head socket cap plain finish |
$0.99
|
1 |
|
ships same day |
026 |
999-1059
|
Screw 4-40 x 3/4 pan head phillips zinc plated |
$0.99
|
2 |
|
ships same day |
027 |
999-0334
|
Bolt 1/4-20 x 3/4 inch hex head stainless steel |
$3.85
|
2 |
|
usually ships 16-20 days |
028 |
173-1228
|
Bolt 5/16 OD x 1/2 long shoulder |
$4.29
|
1 |
|
usually ships 1-5 days |
029 |
999-0458
|
Screw 8 x 1/2 pan head phillips T-A sheet metal zinc |
$0.99
|
1 |
|
ships same day |
030 |
999-0039
|
Bolt 3/8-16 x 1 1/4 hex head grade 5 zinc plated |
$0.99
|
3 |
|
ships same day |
031 |
999-0096
|
Screw 1/4-20 x 1/4 cup point socket set plain finish |
$0.99
|
2 |
|
ships same day |
032 |
173-1167
|
Vacuum shutoff switch |
$58.85
|
1 |
|
usually ships 1-5 days |
033 |
173-1521
|
Spacer |
$7.59
|
2 |
|
usually ships 1-5 days |
034 |
173-1145
|
Insulated stand-off |
$22.55
|
2 |
|
usually ships 11-15 days |
035 |
173-1178
|
Solution stop arm assembly S/N 4001224 & up (OBSOLETE) |
$62.89
|
1 |
|
usually ships 1-5 days |
036 |
173-7156
|
Manual ball valve |
$56.85
|
1 |
|
usually ships 11-15 days |
037 |
999-0123
|
Washer 1/4 SAE flat zinc plated |
$0.99
|
2 |
|
ships same day |
038 |
999-0998
|
Washer #10 flat stainless steel |
$0.99
|
2 |
|
ships same day |
039 |
999-1144
|
Washer 3/8 external star lock stainless steel |
$0.99
|
3 |
|
ships same day |
040 |
999-0017
|
Washer 1/4 external star lock |
$0.99
|
2 |
|
ships same day |
041 |
999-0549
|
Washer 5/16 x 3/4 SAE flat stainless steel |
$0.99
|
5 |
|
ships same day |
042 |
999-1007
|
Washer 3/8 x 1/16 flat nylon |
$0.99
|
3 |
|
ships same day |
043 |
999-1053
|
Washer 5/16 internal star lock stainless steel |
$0.99
|
4 |
|
ships same day |
045 |
999-0629
|
Screw 1/4-20 x 3/4 pan head thread cutting slotted zinc |
$1.03
|
2 |
|
ships same day |
046 |
189-1241
|
Washer 1/2 x 1 nylon |
$14.55
|
2 |
|
usually ships 12-17 days |
047 |
173-7157
|
Washer 5/16 x 1-1/4 teflon (OBSOLETE) |
$19.40
|
2 |
|
usually ships 1-5 days |
048 |
173-7158
|
Power connector wire assembly |
$32.56
|
1 |
|
usually ships 1-5 days |
049 |
173-4578
|
24V solenoid relay |
$141.24
|
2 |
|
usually ships 11-15 days |
050 |
999-1044
|
Screw 10-32 x 3/4 pan head phillips stainless steel |
$0.99
|
2 |
|
ships same day |
051 |
173-1170
|
Squeegee lift lever (OBSOLETE) |
$87.64
|
1 |
|
usually ships 1-5 days |