| # | Part | Description | Price | Req | Notes | Availability |
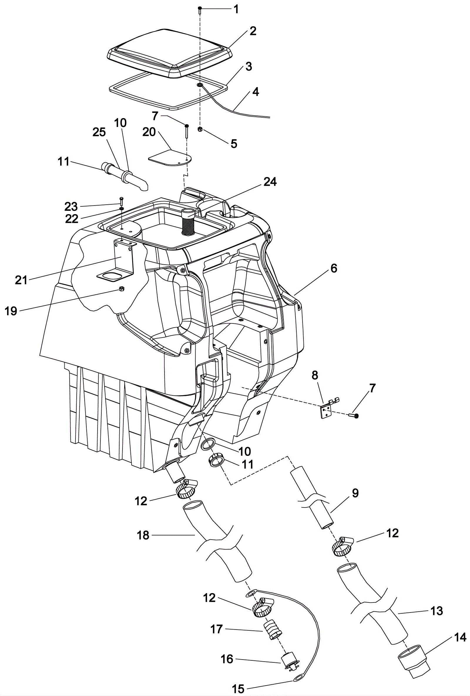
1a |
999-0365
|
Screw 6-32 x 5/8 pan head phillips zinc plated |
$0.99
|
1 |
(32 inch - 36V standard) |
ships same day |
1b |
999-0447
|
Screw 6-32 x 1/2 pan head phillips zinc plated |
$0.99
|
1 |
(26 and 32 inch - 24V and 36V deluxe) |
ships same day |
2 |
173-2774
|
Tank lid |
$173.02
|
1 |
|
usually ships 11-15 days |
3 |
173-8261
|
Tank lid gasket |
$81.21
|
1 |
|
usually ships 11-15 days |
4 |
173-8262
|
Eye lanyard with loop |
$44.61
|
2 |
|
usually ships 11-15 days |
5a |
999-1542
|
Nut 6-32 acorn stainless steel |
$1.32
|
1 |
(26 inch and 32 inch - 24V and 36V standard) |
ships same day |
5b |
173-5037
|
Nut 6-32 elastic stop (OBSOLETE) |
$1.25
|
1 |
(26 inch and 32 inch - 24V and 36V deluxe) |
usually ships 11-15 days |
6a |
173-8263
|
Recovery tank (gray) |
$1,400.63
|
1 |
(32 inch - 36V standard and deluxe) |
usually ships 1-5 days |
6b |
173-2813
|
Recovery tank (gray) |
$1,424.17
|
1 |
(26 inch and 32 inch - 24V standard and deluxe) |
usually ships 1-5 days |
7 |
173-2807
|
Screw 10-32 x 3/4 pan head phillips hi-lo |
$1.87
|
5 |
|
usually ships 11-15 days |
8 |
189-4135
|
Hose mounting bracket |
$90.01
|
1 |
|
usually ships 12-17 days |
9 |
173-8264
|
PVC tube 1 1/2 x 24 inch |
$95.70
|
1 |
|
usually ships 11-15 days |
10 |
173-1542
|
1 1/2 compression gasket |
$3.37
|
2 |
|
usually ships 11-15 days |
11 |
273-6836
|
Slip joint nut |
$10.89
|
2 |
|
ships same day |
12 |
189-0329
|
Hose clamp |
$31.44
|
3 |
|
usually ships 1-5 days |
13 |
173-2773
|
Squeegee vacuum hose 1 1/2 x 28 inch |
$45.08
|
1 |
|
usually ships 11-15 days |
14 |
173-1123
|
Hose cuff 1 1/2 slip x 1 1/2 inch |
$30.48
|
1 |
|
usually ships 11-15 days |
15 |
189-4123
|
Drain plug tether |
$30.13
|
1 |
|
usually ships 11-15 days |
16 |
173-1213
|
Drain plug |
$124.76
|
1 |
|
ships same day |
17 |
189-4130
|
1/2 inch hosebarb |
$27.94
|
1 |
|
usually ships 12-17 days |
18 |
173-1216
|
Drain hose 1 1/2 x 24 inch |
$111.82
|
1 |
|
usually ships 11-15 days |
19 |
999-0304
|
Nut 1/4-20 nylon lock jam stainless steel |
$0.99
|
2 |
|
ships same day |
20 |
173-8265
|
Vacuum hose cover |
$28.60
|
1 |
|
usually ships 1-5 days |
21 |
173-8266
|
Vacuum intake bracket |
$83.57
|
1 |
|
usually ships 1-5 days |
22 |
999-0123
|
Washer 1/4 SAE flat zinc plated |
$0.99
|
2 |
|
ships same day |
23 |
999-9072
|
Bolt 1/4-20 x 1 hex head cap |
$7.32
|
2 |
|
ships same day |
24 |
173-8267
|
Vacuum shut off float |
$125.94
|
1 |
|
usually ships 11-15 days |
25 |
173-2307
|
1 1/2 inch waste tube |
$37.66
|
1 |
|
usually ships 11-15 days |