CHAMPION26
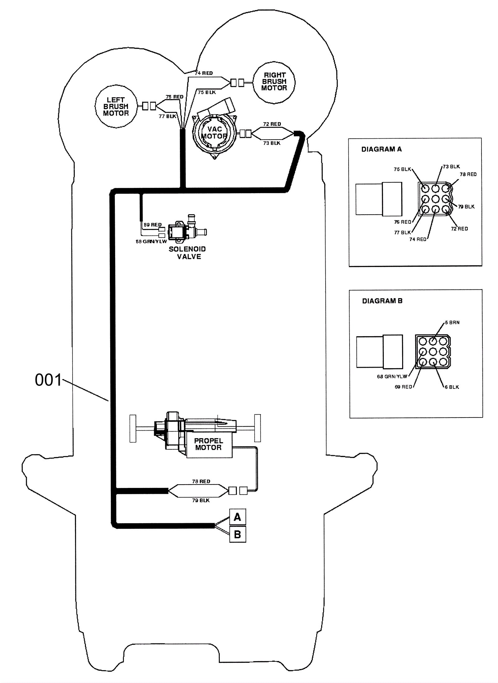
Wiring Assembly - Main Harness
Click to enlarge
#
Part
Description
Price
Req
Notes
Availability
001
173-8353
Main harness
$309.55
1
usually ships 11-15 days