| # | Part | Description | Price | Req | Notes | Availability |
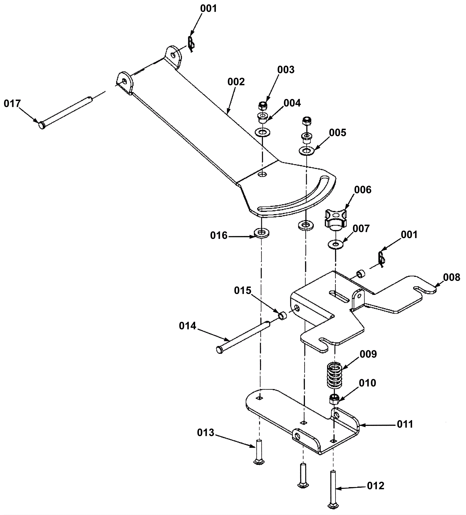
001 |
173-1593
|
Cotter ring (OBSOLETE) |
$0.99
|
2 |
|
usually ships 11-15 days |
002 |
173-8336
|
Squeegee pivot lift bracket |
$117.12
|
1 |
|
usually ships 11-15 days |
003 |
999-0423
|
Nut 5/16-18 nylon insert lock stainless steel |
$0.99
|
2 |
|
ships same day |
004 |
173-3116
|
Flanged bearing |
$9.06
|
2 |
|
usually ships 11-15 days |
005a |
173-2815
|
Washer 33/64 x 1 thrust |
$8.36
|
2 |
Saber Cutter 26 |
usually ships 11-15 days |
005b |
173-3964
|
Thrust washer |
$6.89
|
2 |
Saber Cutter 32 |
ships same day |
006 |
173-1025
|
Knob |
$22.59
|
1 |
|
usually ships 11-15 days |
007 |
999-0032
|
Washer 3/8 USS flat plain finish |
$2.42
|
1 |
|
ships same day |
008 |
173-8337
|
Squeegee mount plate |
$80.63
|
1 |
|
usually ships 1-5 days |
009 |
173-1656
|
Compression spring |
$36.01
|
1 |
|
usually ships 11-15 days |
010 |
999-0513
|
Nut 3/8-16 nylon insert lock type NE stainless steel |
$3.96
|
1 |
|
ships same day |
011 |
173-3154
|
Pivot bracket |
$30.95
|
1 |
|
usually ships 11-15 days |
012 |
999-0894
|
Screw 3/8-16 x 2 1/2 carriage head stainless steel |
$3.61
|
1 |
|
ships same day |
013 |
999-0252
|
Screw 5/16-18 x 1 carriage head grade 5 zinc |
$0.99
|
2 |
|
ships same day |
014 |
173-3157
|
Clevis pin |
$18.48
|
1 |
|
usually ships 11-15 days |
015 |
173-1665
|
Flanged bearing |
$6.53
|
2 |
|
usually ships 11-15 days |
016 |
173-3963
|
Washer 1/2 thrust |
$7.83
|
2 |
|
usually ships 11-15 days |
017 |
173-3401
|
Clevis pin |
$36.72
|
1 |
|
usually ships 11-15 days |