| # | Part | Description | Price | Req | Notes | Availability |
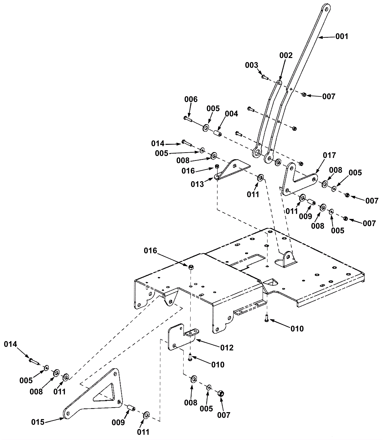
001 |
173-8309
|
Vertical link bar |
$114.17
|
1 |
|
usually ships 1-5 days |
002 |
173-8310
|
Vertical brake bar |
$61.20
|
1 |
|
usually ships 1-5 days |
003 |
999-9072
|
Bolt 1/4-20 x 1 hex head cap |
$7.32
|
3 |
|
ships same day |
004 |
173-8258
|
Flanged bearing |
$12.12
|
1 |
|
ships same day |
005 |
999-0123
|
Washer 1/4 SAE flat zinc plated |
$0.99
|
6 |
|
ships same day |
006 |
999-0136
|
Bolt 1/4-20 x 1 1/4 hex head grade 5 zinc plated |
$0.99
|
1 |
|
ships same day |
007 |
999-0304
|
Nut 1/4-20 nylon lock jam stainless steel |
$0.99
|
6 |
|
ships same day |
008 |
173-3964
|
Thrust washer |
$6.89
|
5 |
|
ships same day |
009 |
173-8299
|
Bearing |
$11.19
|
2 |
|
usually ships 1-5 days |
010 |
999-1232
|
Screw 5/16-18 x 3/4 hex head stainless steel |
$0.99
|
4 |
|
ships same day |
011 |
173-3963
|
Washer 1/2 thrust |
$7.83
|
5 |
|
usually ships 11-15 days |
012 |
173-8311
|
Frame mount bracket |
$36.01
|
1 |
|
usually ships 1-5 days |
013 |
173-8312
|
Bell crank support rear bracket |
$51.79
|
1 |
|
usually ships 1-5 days |
014 |
999-0506
|
Bolt 1/4-20 x 1 1/2 hex head stainless steel |
$1.28
|
2 |
|
ships same day |
015 |
173-8313
|
Deck linkage front bar |
$100.05
|
1 |
|
usually ships 1-5 days |
016 |
999-0423
|
Nut 5/16-18 nylon insert lock stainless steel |
$0.99
|
4 |
|
ships same day |
017 |
173-8314
|
Deck linkage rear bar |
$63.56
|
1 |
|
usually ships 1-5 days |