# | Part | Description | Price | Req | Notes | Availability |
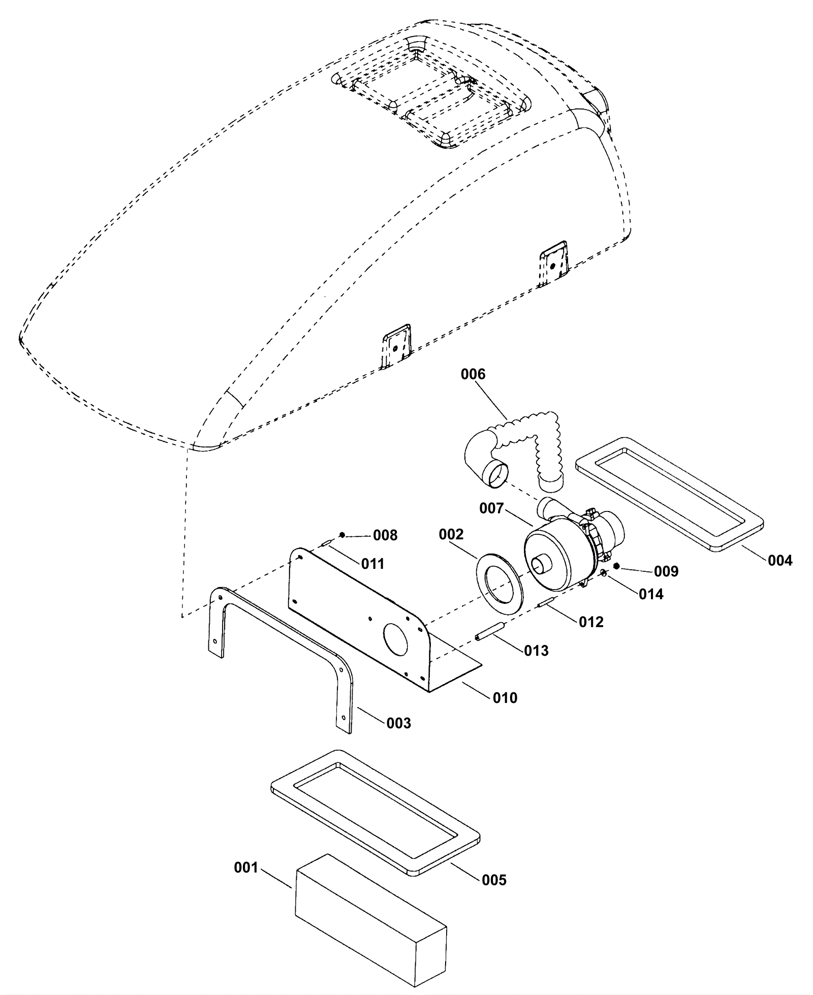
001 |
173-1837
|
Vacuum filter |
$25.19
|
1 |
|
usually ships 11-15 days |
003 |
173-3666
|
Vac motor gasket |
$34.61
|
1 |
|
usually ships 1-5 days |
004 |
173-1835
|
Gasket |
$52.73
|
1 |
|
usually ships 11-15 days |
005 |
173-1834
|
Gasket |
$67.09
|
1 |
|
usually ships 11-15 days |
006 |
173-1671
|
Vacuum hose assembly (black) |
$97.69
|
1 |
|
usually ships 11-15 days |
007a |
173-0402
|
36V 3 stage vacuum motor assembly |
$269.53
|
1 |
OEM |
usually ships 11-15 days |
007b |
991-1202-P
|
36V 3 stage vacuum motor tangential with Packard plug |
$134.20
|
1 |
(NON-OEM) |
usually ships 1-5 days |
008 |
173-2472
|
Nut 10-32 with star washer |
$0.99
|
4 |
|
usually ships 1-5 days |
009 |
999-0294
|
Nut 1/4-20 hex nylon lock type NE stainless steel |
$1.18
|
3 |
|
ships same day |
010 |
173-2657
|
Vacuum mount plate |
$107.25
|
1 |
|
usually ships 11-15 days |
011 |
173-3946
|
Screw 10-32 x 1 set stainless steel |
$5.06
|
4 |
|
usually ships 1-5 days |
012 |
173-3947
|
Screw 1/4-20 x 1 3/4 set socket cup point |
$2.42
|
3 |
|
usually ships 1-5 days |
013 |
173-1674
|
Spacer |
$23.65
|
3 |
|
usually ships 1-5 days |
014 |
999-0123
|
Washer 1/4 SAE flat zinc plated |
$0.99
|
3 |
|
ships same day |
N/S |
173-2656
|
36VDC vacuum motor brush set |
$76.45
|
|
|
usually ships 1-5 days |