# | Part | Description | Price | Req | Notes | Availability |
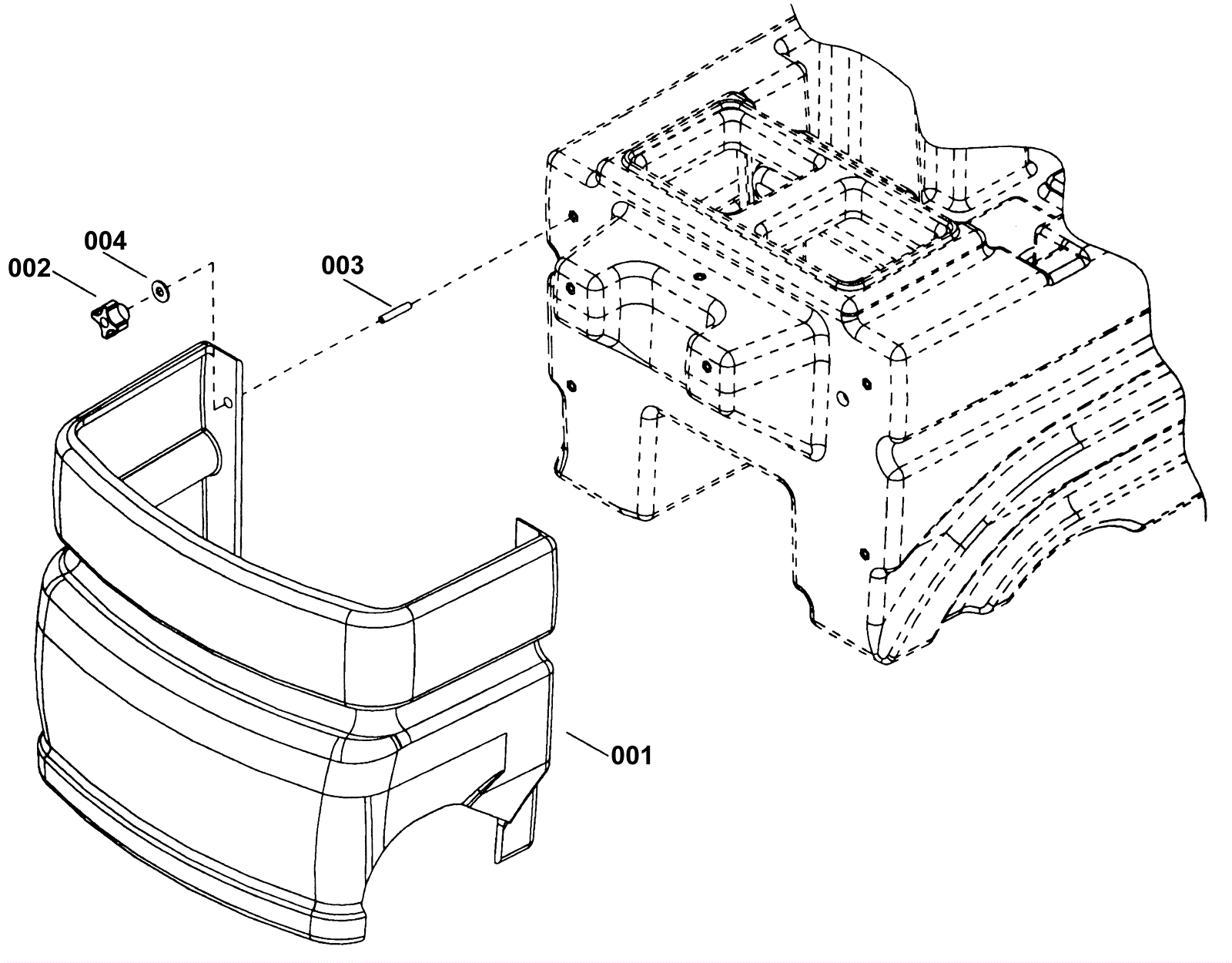
001a |
173-2599
|
Front 36V cylindrical cover (OBSOLETE) |
$374.63
|
1 |
|
usually ships 1-5 days |
001b |
173-2600
|
Front 36V disk cover (OBSOLETE) |
$374.63
|
1 |
|
usually ships 1-5 days |
002 |
173-1736
|
Knob |
$14.36
|
2 |
|
usually ships 11-15 days |