# | Part | Description | Price | Req | Notes | Availability |
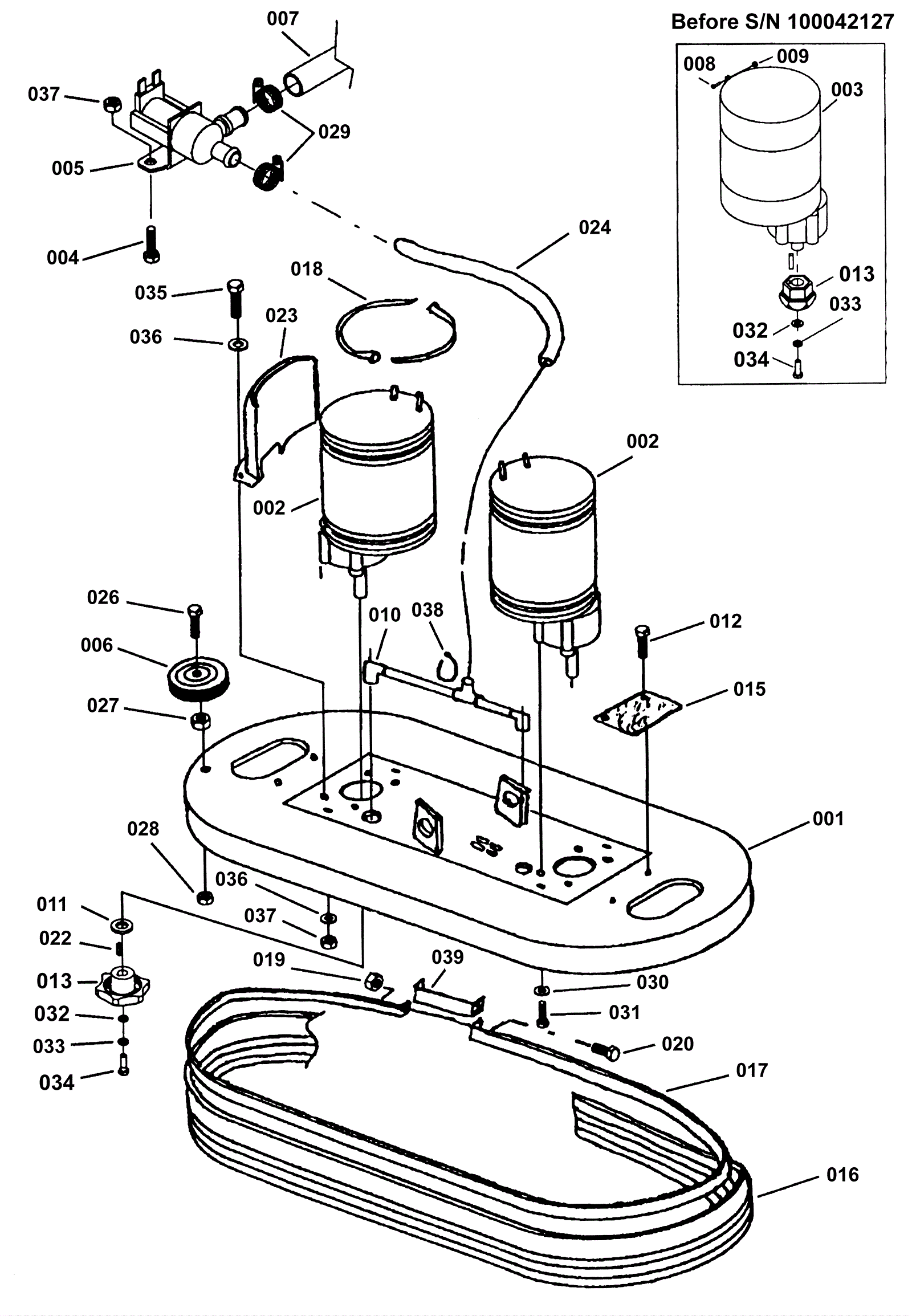
001 |
173-1816
|
scrubhead weldment 34 inch |
$704.00
|
1 |
|
usually ships 1-5 days |
002a |
173-1946
|
36V brush motor assembly |
$880.40
|
2 |
|
usually ships 11-15 days |
002b |
991-2122
|
36V .75HP brush motor assembly with gear box |
$1,099.40
|
2 |
(NON-OEM) |
ships same day |
003 |
173-3660
|
Motor guard |
$44.33
|
4 |
|
usually ships 1-5 days |
004 |
173-9903
|
Screw 1/4-20 X 2 |
$0.99
|
2 |
|
usually ships 1-5 days |
005 |
173-1098
|
36V solenoid valve |
$108.88
|
1 |
|
usually ships 1-5 days |
006 |
189-0326
|
Bumper wheel |
$29.04
|
1 |
|
usually ships 12-17 days |
007 |
173-3682
|
Vinyl tubing |
$4.95
|
1 |
|
usually ships 1-5 days |
008 |
999-0452
|
Screw 8-32 x 3/8 pan head phillips zinc plated |
$0.99
|
4 |
|
ships same day |
009 |
999-0151
|
Nut 8-32 nylon insert lock zinc plated |
$1.10
|
4 |
|
ships same day |
010 |
173-3683
|
Delivery manifold solution |
$112.20
|
1 |
|
usually ships 1-5 days |
011 |
173-3924
|
Washer .78 x .25 |
$22.84
|
2 |
|
usually ships 11-15 days |
012 |
173-1577
|
Tree clip |
$6.01
|
4 |
|
usually ships 11-15 days |
013a |
189-0021
|
Hex drive hub (OBSOLETE) |
$115.50
|
2 |
|
usually ships 11-15 days |
013b |
173-1569
|
Star drive hub |
$121.23
|
2 |
|
usually ships 11-15 days |
015 |
173-1578
|
Brush release cover |
$13.78
|
2 |
|
usually ships 1-5 days |
016 |
189-3075
|
Shroud-32 inch |
$95.34
|
1 |
|
usually ships 1-5 days |
017 |
173-1818
|
Weldment skirt retainer 34 inch |
$172.70
|
1 |
|
usually ships 1-5 days |
018 |
173-3305
|
Cable tie |
$12.47
|
4 |
|
usually ships 1-5 days |
020 |
999-1688
|
Screw 10-24 x 2 hex head stainless steel |
$1.34
|
1 |
|
ships same day |
022 |
189-0323
|
Square keyway |
$35.72
|
2 |
|
usually ships 12-17 days |
023 |
173-3684
|
Motor machined cover |
$201.27
|
2 |
|
usually ships 1-5 days |
024 |
173-3685
|
Long hose |
$3.85
|
1 |
|
usually ships 1-5 days |
026 |
173-3937
|
Bolt 3/8-16 x 2 hex head |
$1.98
|
1 |
|
usually ships 11-15 days |
027 |
999-0302
|
Nut 3/4-16 hex plain finish |
$0.99
|
1 |
|
ships same day |
028 |
173-3869
|
Nut 3/8-16 hex nylock (OBSOLETE) |
$1.03
|
1 |
|
usually ships 11-15 days |
029 |
173-1821
|
Hose clamp |
$6.83
|
|
|
ships same day |
030 |
999-0034
|
Washer 3/8 split lock plain finish |
$1.82
|
8 |
|
ships same day |
031 |
999-0542
|
Bolt 3/8-16 x 1 3/4 hex head grade 5 zinc plated |
$0.99
|
8 |
|
ships same day |
032a |
173-3912
|
Washer .344 x .066 flat head (OBSOLETE) |
$0.99
|
2 |
|
usually ships 11-15 days |
032b |
999-1364
|
Washer 5/16 x 1 fender zinc finish |
$0.99
|
2 |
|
ships same day |
033 |
999-0028
|
Washer 5/16 split lock plain finish |
$0.99
|
2 |
|
ships same day |
034a |
999-0031
|
Bolt 5/16-18 x 1 hex head grade 5 zinc plated |
$0.99
|
2 |
|
ships same day |
034b |
999-0162
|
Bolt 5/16-18 x 1 1/4 hex head grade 5 zinc plated |
$0.99
|
2 |
|
ships same day |
035 |
999-0020
|
Bolt 1/4-20 x 3/4 hex head grade 5 zinc plated |
$0.99
|
4 |
|
ships same day |
036 |
999-0123
|
Washer 1/4 SAE flat zinc plated |
$0.99
|
8 |
|
ships same day |
037 |
999-0152
|
Nut 1/4-20 nylon insert lock zinc plated |
$0.99
|
6 |
|
ships same day |
038 |
173-3169
|
Wire tie |
$1.20
|
2 |
|
usually ships 1-5 days |
039 |
173-1820
|
strap support channel (OBSOLETE) |
$8.95
|
1 |
|
usually ships 1-5 days |
040 |
999-0548
|
Washer 5/16 external star lock stainless steel |
$0.99
|
1 |
|
ships same day |