| # | Part | Description | Price | Req | Notes | Availability |
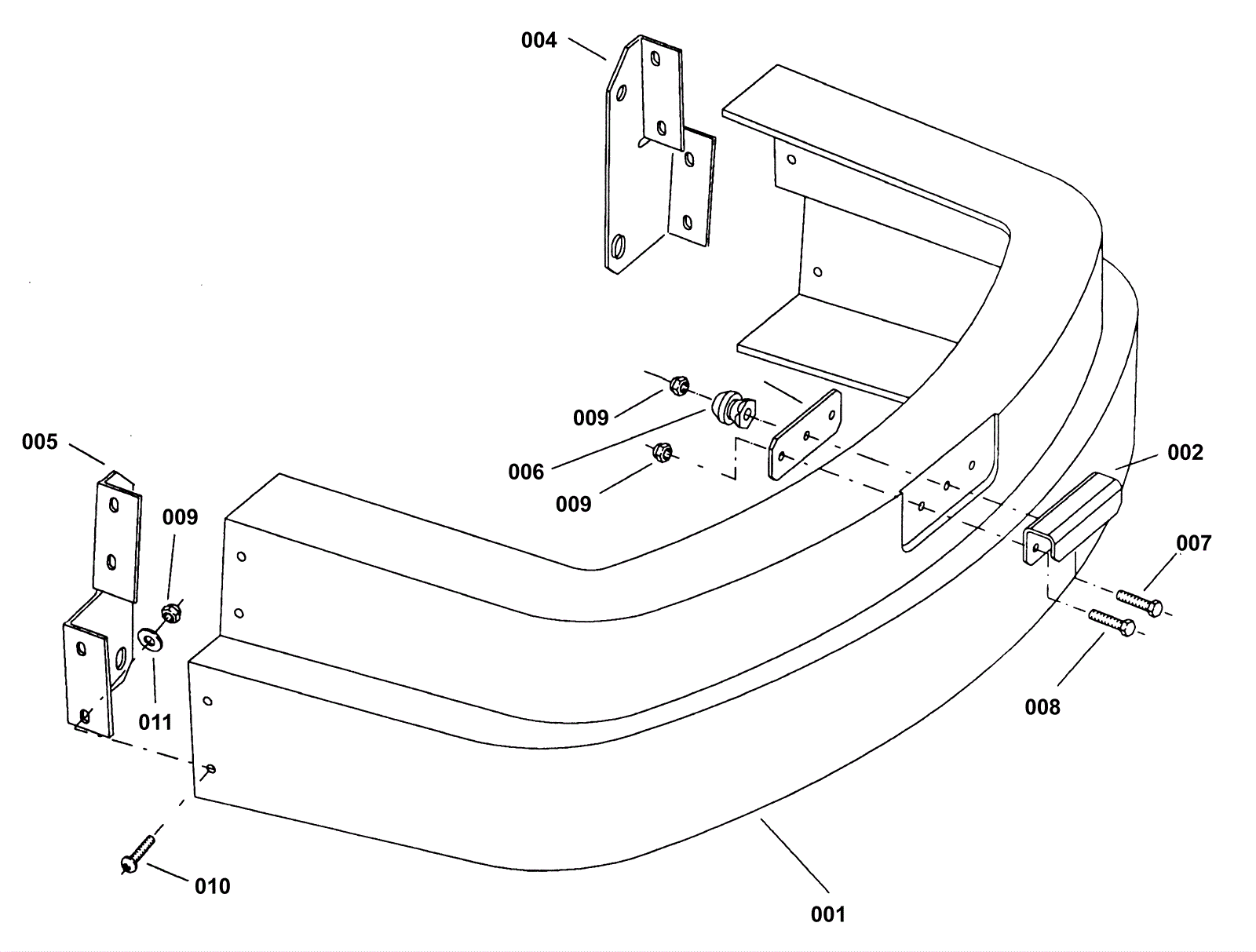
001 |
173-3465
|
swift bumper (OBSOLETE) |
$294.13
|
1 |
|
usually ships 1-5 days |
002 |
173-3466
|
Bumper handle |
$43.12
|
1 |
|
usually ships 1-5 days |
003 |
173-3467
|
Handle plate |
$15.95
|
1 |
|
usually ships 1-5 days |
004 |
173-3468
|
Left bumper mount |
$59.95
|
1 |
|
usually ships 1-5 days |
005 |
173-3469
|
Right bumper mount |
$58.30
|
1 |
|
usually ships 1-5 days |
006 |
173-3470
|
Male latch |
$22.59
|
1 |
|
usually ships 1-5 days |
007 |
173-2525
|
Bolt 1/4-20 x 1 1/4 hex head plated |
$0.99
|
1 |
|
usually ships 1-5 days |
008 |
999-0415
|
Screw 1/4-20 x 3/4 pan head slotted zinc plated |
$0.99
|
2 |
|
ships same day |
009 |
999-0152
|
Nut 1/4-20 nylon insert lock zinc plated |
$0.99
|
11 |
|
ships same day |
010 |
999-0567
|
Screw 1/4-20 x 5/8 pan head phillips stainless steel |
$0.99
|
8 |
|
ships same day |
011 |
999-0123
|
Washer 1/4 SAE flat zinc plated |
$0.99
|
8 |
|
ships same day |