| # | Part | Description | Price | Req | Notes | Availability |
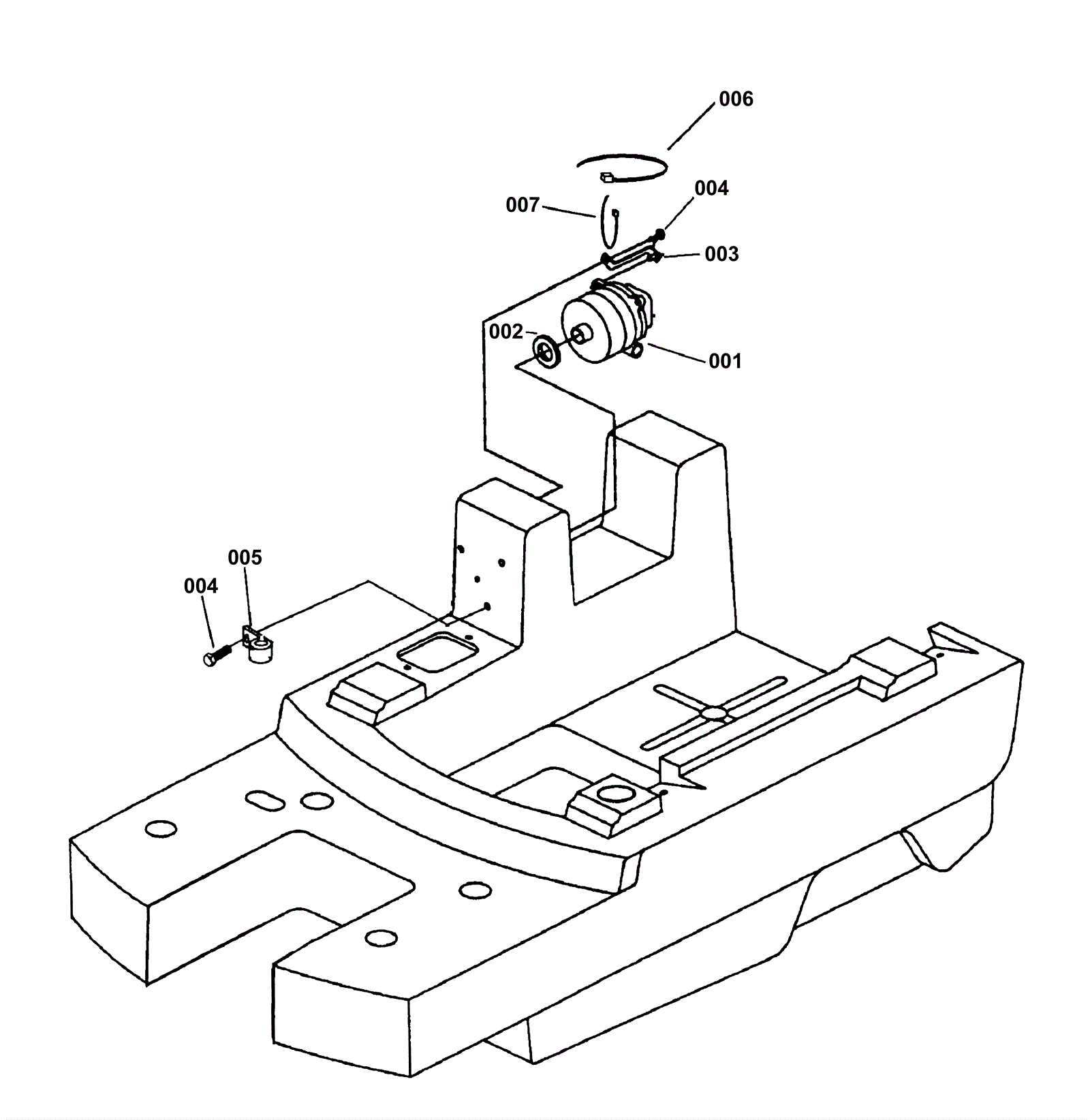
001 |
991-1230
|
24V 3 stage vacuum motor tangential with snout |
$214.98
|
1 |
|
ships same day |
002 |
173-3459
|
vacuum fan seal stage gasket |
$18.36
|
1 |
|
usually ships 11-15 days |
003 |
173-3460
|
vacuum motor retainer |
$35.97
|
3 |
|
usually ships 1-5 days |
004 |
999-0029
|
Bolt 5/16-18 x 1/2 hex head plain finish |
$0.99
|
4 |
|
ships same day |
005 |
173-3257
|
1/4 cushioned clamp |
$11.30
|
1 |
|
usually ships 1-5 days |
006 |
173-3305
|
Cable tie |
$12.47
|
1 |
|
usually ships 1-5 days |
007 |
173-3169
|
Wire tie |
$1.20
|
1 |
|
usually ships 1-5 days |