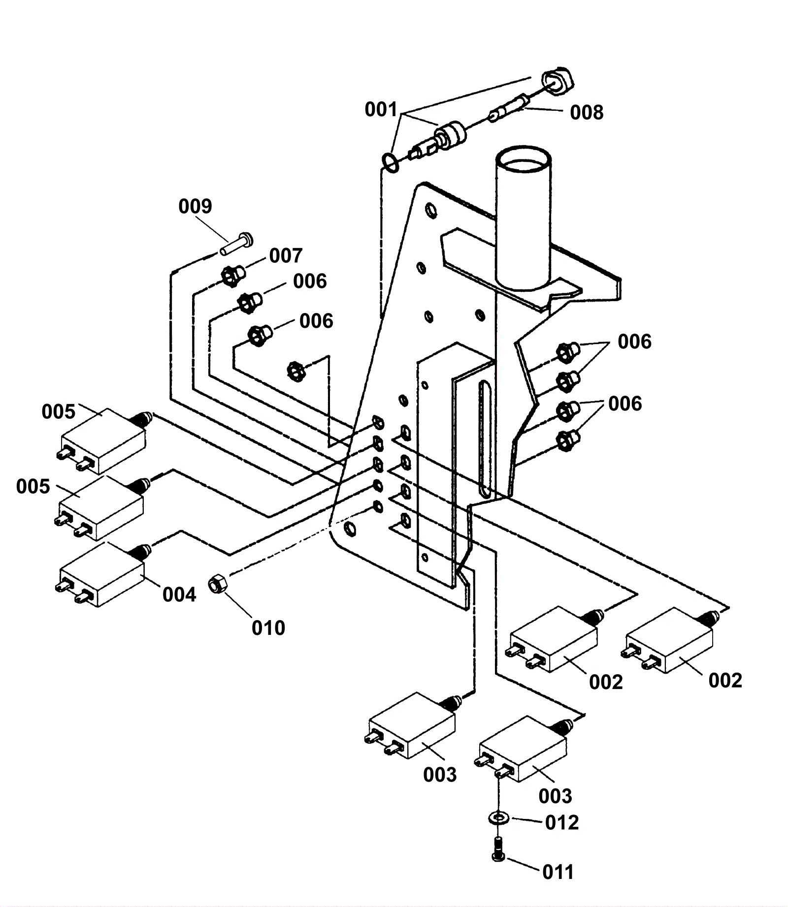
| # | Part | Description | Price | Req | Notes | Availability |
001 |
173-3210
|
Fuseholder |
$22.99
|
1 |
|
usually ships 1-5 days |
002 |
991-1632
|
25amp circuit breaker |
$10.55
|
2 |
|
ships same day |
003 |
173-1795
|
breaker |
$24.84
|
2 |
|
usually ships 1-5 days |
005 |
173-3211
|
circuit breaker 15A |
$34.17
|
2 |
|
usually ships 1-5 days |
006a |
173-1522
|
3/8 inch circuit breaker boot |
$27.07
|
6 |
(OEM) |
ships same day |
006b |
991-5157
|
3/8 inch circuit breaker boot |
$2.11
|
6 |
(NON-OEM) |
ships same day |
007 |
189-0312
|
3/8 inch circuit breaker boot |
$59.75
|
1 |
|
usually ships 12-17 days |
008 |
173-3212
|
8A fuse |
$7.21
|
1 |
|
usually ships 1-5 days |
009 |
999-0487
|
Screw 1/4-20 x 3/4 pan head phillips zinc plated |
$0.99
|
1 |
|
ships same day |
010 |
999-0152
|
Nut 1/4-20 nylon insert lock zinc plated |
$0.99
|
1 |
|
ships same day |
011 |
999-0418
|
Screw 6-32 x 1/4 pan head slotted zinc plated |
$0.99
|
8 |
|
ships same day |
012 |
999-0051
|
Washer #6 medium split lock |
$0.99
|
8 |
|
ships same day |