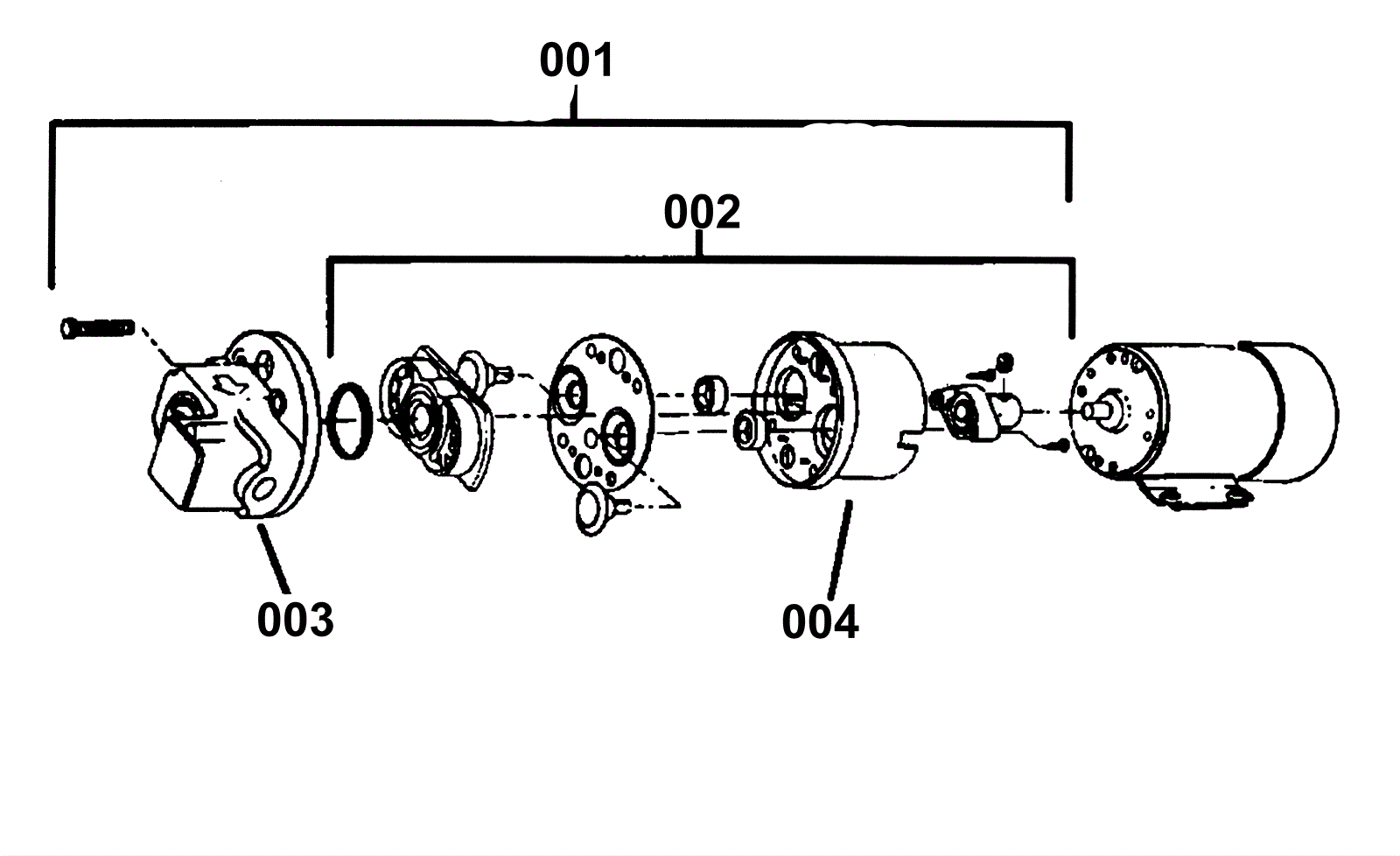
Pump Repair Kit
Click to enlarge
#
Part
Description
Price
Req
Notes
Availability
001
173-3106
pump head assembly
$419.10
usually ships 1-5 days
002
173-3107
pump repair kit
$226.60
usually ships 1-5 days
003
173-3108
f-jet housing
$143.29
usually ships 1-5 days
004
173-3109
bearing cover (OBSOLETE)
$2.88
usually ships 1-5 days