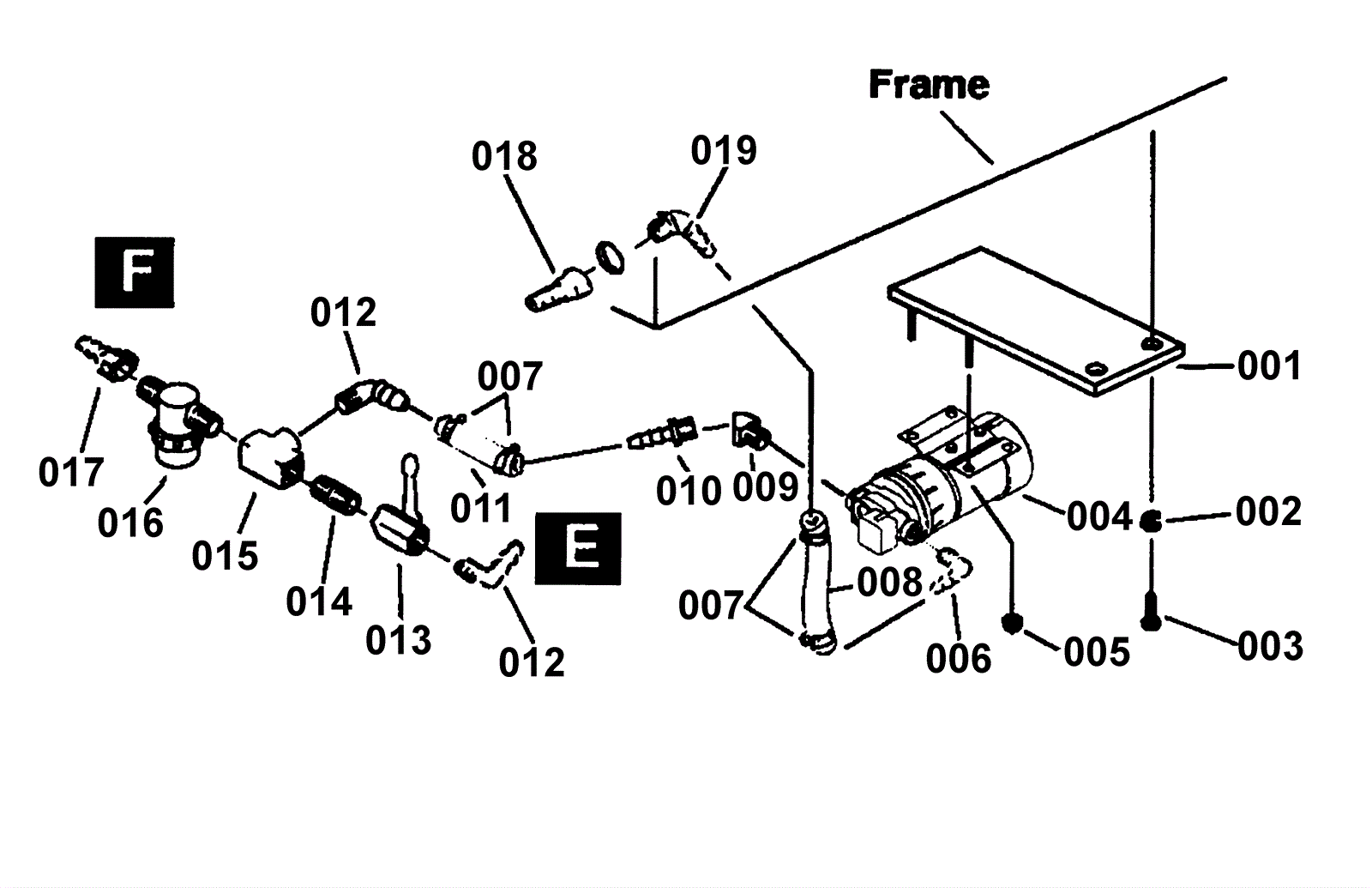
| # | Part | Description | Price | Req | Notes | Availability |
001 |
N/A
|
Not available |
Call for price
|
|
(not available) |
usually ships 3-26 days |
002 |
999-0028
|
Washer 5/16 split lock plain finish |
$0.99
|
|
|
ships same day |
003 |
999-0029
|
Bolt 5/16-18 x 1/2 hex head plain finish |
$0.99
|
|
|
ships same day |
004 |
173-1926
|
100psi pump (OBSOLETE) |
$452.35
|
|
|
usually ships 1-5 days |
005 |
999-1466
|
Nut 1/4-20 lock with external toothed lockwasher SS |
$0.99
|
|
|
ships same day |
006 |
173-2096
|
Hosebarb |
$19.31
|
|
|
usually ships 11-15 days |
007 |
173-1821
|
Hose clamp |
$6.83
|
|
|
ships same day |
008 |
173-1927
|
rubber hose (OBSOLETE) |
$6.73
|
|
|
usually ships 1-5 days |
009 |
173-1928
|
Elbow |
$17.30
|
|
|
ships same day |
010 |
173-1929
|
Hose barb |
$11.19
|
|
|
usually ships 1-5 days |
011 |
N/A
|
Not available |
Call for price
|
|
|
usually ships 3-26 days |
012 |
173-1685
|
Hosebarb 1/2 x 1/2 inch |
$13.07
|
|
|
usually ships 11-15 days |
013 |
173-1931
|
1/2 FPT ball valve (OBSOLETE) |
$26.64
|
|
|
usually ships 1-5 days |
014 |
173-1932
|
1/2 close nipple (OBSOLETE) |
$3.81
|
|
|
usually ships 1-5 days |
015 |
173-1933
|
1/2 FPT tee (OBSOLETE) |
$18.99
|
|
|
usually ships 1-5 days |
016 |
173-1934
|
strainer assembly (OBSOLETE) |
$50.30
|
|
|
usually ships 1-5 days |
017 |
173-1935
|
1/2 FPT hosebarb (OBSOLETE) |
$9.90
|
|
|
usually ships 1-5 days |
018 |
991-8150
|
1/4 inch BH2-61 male nipple (mate to QD80) |
$12.21
|
|
|
ships same day |
019 |
173-1937
|
1/2 hosebarb |
$27.54
|
|
|
usually ships 11-15 days |