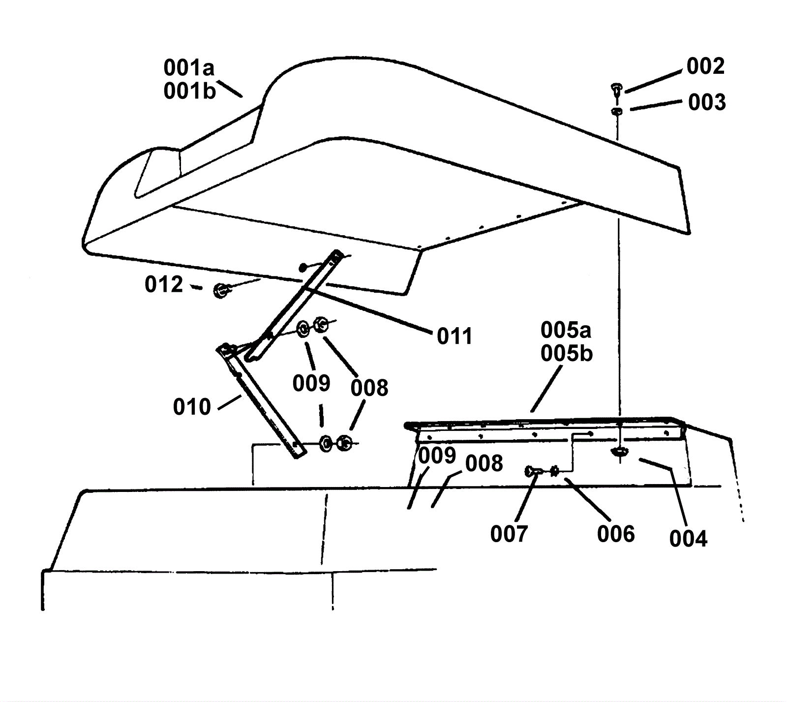
| # | Part | Description | Price | Req | Notes | Availability |
001a |
173-1919
|
main cover PT26 (OBSOLETE) |
$370.93
|
|
|
usually ships 1-5 days |
001b |
173-1920
|
main cover PT32 (OBSOLETE) |
$544.39
|
|
|
usually ships 1-5 days |
002 |
999-0371
|
Screw 10-32 x 1/2 pan head phillips zinc plated |
$0.99
|
|
|
ships same day |
003 |
999-0006
|
Washer 3/16 flat zinc plated |
$0.99
|
|
|
ships same day |
004 |
173-2472
|
Nut 10-32 with star washer |
$0.99
|
|
|
usually ships 1-5 days |
005a |
173-1898
|
cover hinge PT26 (OBSOLETE) |
$50.28
|
|
|
usually ships 1-5 days |
005b |
173-1922
|
cover hinge PT32 (OBSOLETE) |
$22.72
|
|
|
usually ships 1-5 days |
006 |
999-0311
|
Washer #10 external star lock zinc plated |
$0.99
|
|
|
ships same day |
007 |
173-3870
|
Screw 10B x 1/2 pan head |
$0.99
|
|
|
usually ships 1-5 days |
008 |
999-0152
|
Nut 1/4-20 nylon insert lock zinc plated |
$0.99
|
|
|
ships same day |
009 |
173-2483
|
Washer 1/4ID x 3/4OD plated |
$0.99
|
|
|
usually ships 1-5 days |
010 |
173-1923
|
bottom support pivot (OBSOLETE) |
$42.36
|
|
|
usually ships 1-5 days |
011 |
173-1924
|
top support pivot (OBSOLETE) |
$46.33
|
|
|
usually ships 1-5 days |
012 |
173-3891
|
Screw 5/16-18 x 1/2 pan head round machine (OBSOLETE) |
$0.99
|
|
|
usually ships 1-5 days |