| # | Part | Description | Price | Req | Notes | Availability |
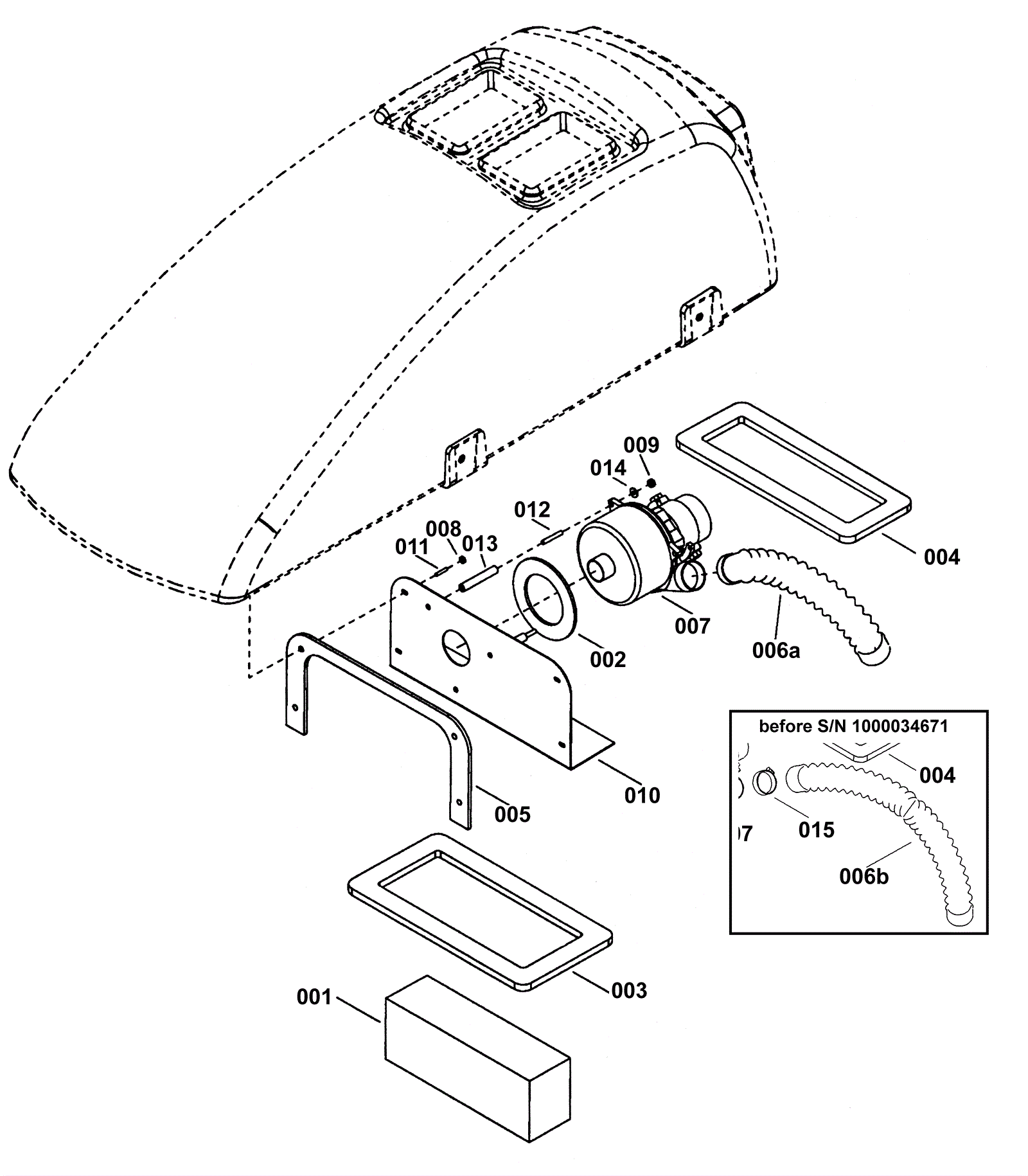
001 |
189-0334
|
Vacuum filter |
$33.77
|
1 |
|
usually ships 12-17 days |
001b |
173-1568
|
Worm clamp |
$69.44
|
1 |
|
ships same day |
003 |
189-0020
|
Gasket 8.50 x 16.40 x .50T (OBSOLETE) |
$51.59
|
1 |
|
usually ships 11-15 days |
004 |
189-0019
|
Gasket 6.30 x 16.1C .50T (OBSOLETE) |
$40.70
|
1 |
|
usually ships 11-15 days |
005 |
189-0335
|
Vacuum motor gasket |
$57.22
|
1 |
|
usually ships 12-17 days |
006a |
173-1671
|
Vacuum hose assembly (black) |
$97.69
|
1 |
|
usually ships 11-15 days |
006b |
173-1675
|
Vacuum exhaust hose |
$71.21
|
1 |
|
usually ships 11-15 days |
007 |
991-1211
|
24V 3 stage vacuum motor tangential kit |
$198.04
|
1 |
|
usually ships 3-26 days |
008 |
173-2472
|
Nut 10-32 with star washer |
$0.99
|
4 |
|
usually ships 1-5 days |
009 |
999-0294
|
Nut 1/4-20 hex nylon lock type NE stainless steel |
$1.18
|
3 |
|
ships same day |
010 |
173-1673
|
Vacuum mount plate |
$134.18
|
1 |
|
usually ships 1-5 days |
011 |
173-3946
|
Screw 10-32 x 1 set stainless steel |
$5.06
|
4 |
|
usually ships 1-5 days |
012 |
173-3947
|
Screw 1/4-20 x 1 3/4 set socket cup point |
$2.42
|
3 |
|
usually ships 1-5 days |
013 |
173-1674
|
Spacer |
$23.65
|
3 |
|
usually ships 1-5 days |
014 |
999-0123
|
Washer 1/4 SAE flat zinc plated |
$0.99
|
3 |
|
ships same day |
015 |
997-2007
|
Hose clamp |
$2.07
|
1 |
|
ships same day |