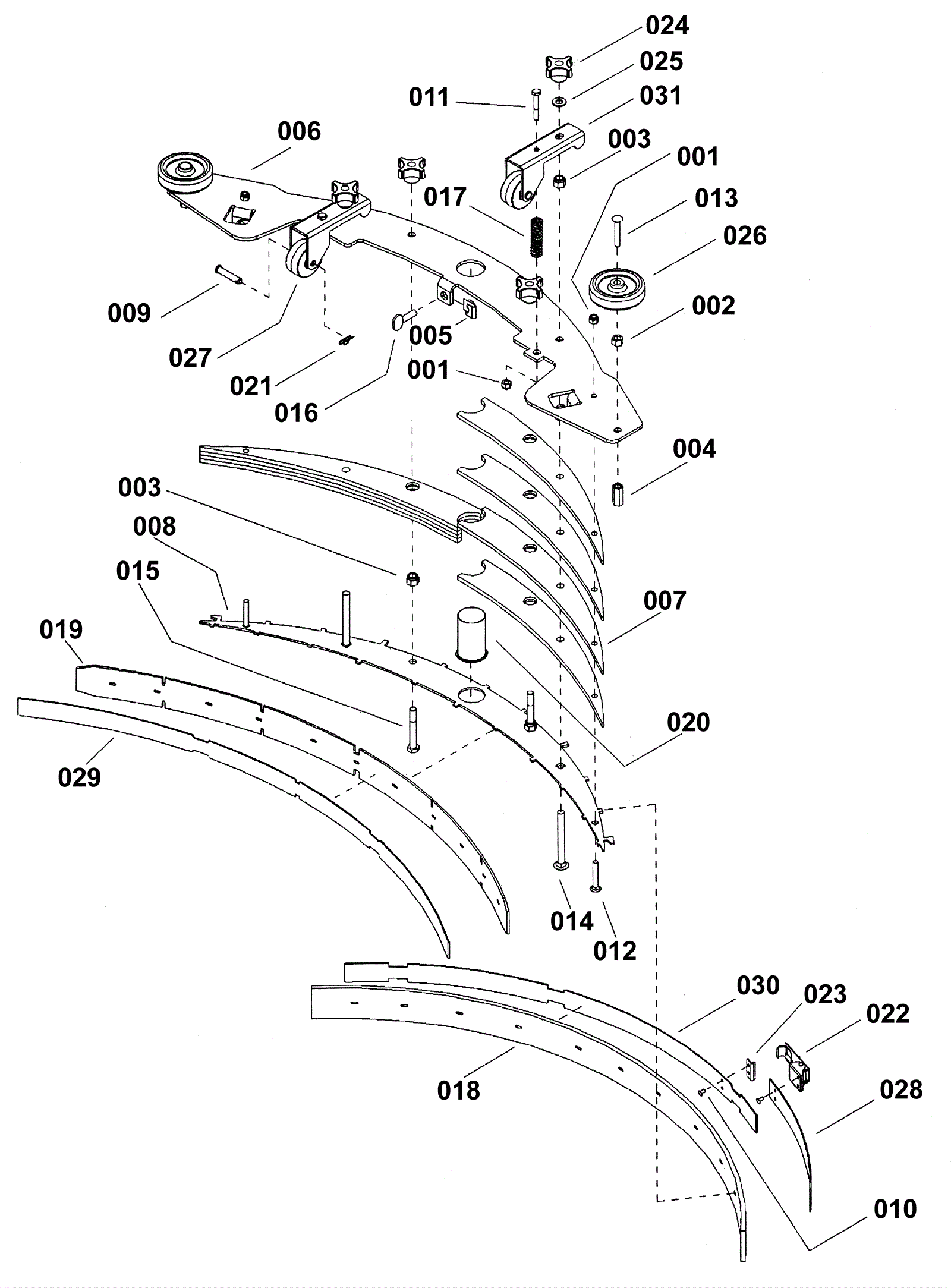
| # | Part | Description | Price | Req | Notes | Availability |
001 |
999-0152
|
Nut 1/4-20 nylon insert lock zinc plated |
$0.99
|
4 |
|
ships same day |
002 |
999-0170
|
Nut 3/8-16 hex plain finish |
$0.99
|
2 |
|
ships same day |
003 |
173-3869
|
Nut 3/8-16 hex nylock (OBSOLETE) |
$1.03
|
4 |
|
usually ships 11-15 days |
004 |
173-3934
|
Nut 3/8-16 hex coupling stainless steel |
$25.66
|
2 |
|
usually ships 11-15 days |
005 |
173-3935
|
Nut 5/16-18 captive jam (OBSOLETE) |
$5.50
|
3 |
|
usually ships 11-15 days |
006 |
173-1635
|
retainer top plate (OBSOLETE) |
$246.40
|
1 |
|
usually ships 11-15 days |
007 |
173-1636
|
Squeegee filler plate |
$46.13
|
8 |
|
usually ships 1-5 days |
008 |
173-1637
|
Squeegee blade retainer plate |
$166.10
|
1 |
|
usually ships 1-5 days |
009 |
173-3181
|
Clevis pin |
$7.01
|
2 |
|
ships same day |
010 |
173-2797
|
Rivet |
$1.84
|
4 |
|
usually ships 11-15 days |
011 |
999-0562
|
Bolt 3/8-16 x 1 hex head stainless steel |
$1.50
|
2 |
|
ships same day |
012 |
189-1610
|
Screw 1/4-20 x 1 1/2 elevator |
$7.72
|
2 |
|
usually ships 1-5 days |
013 |
173-3937
|
Bolt 3/8-16 x 2 hex head |
$1.98
|
2 |
|
usually ships 11-15 days |
014 |
999-1399
|
Screw 3/8-16 x 3 1/2 carriage head stainless steel |
$7.84
|
2 |
|
ships same day |
015 |
173-3939
|
Screw 3/8-16 x 2 1/2 self tapping (OBSOLETE) |
$4.82
|
2 |
|
usually ships 11-15 days |
016 |
173-3940
|
Screw 5/16-18 x 1 thumb type p stainless steel |
$17.53
|
3 |
|
usually ships 11-15 days |
017 |
189-0353
|
Compression spring |
$9.82
|
2 |
|
usually ships 11-15 days |
018b |
173-1604
|
Squeegee blade rear tile (OBSOLETE) |
$127.69
|
1 |
|
usually ships 1-5 days |
018c |
173-1605
|
Squeegee blade rear buttons (OBSOLETE) |
$127.69
|
1 |
|
usually ships 1-5 days |
019a |
173-7375
|
Squeegee blade front linatex red 35 inch - 11 hole |
$39.31
|
1 |
|
usually ships 11-15 days |
019b |
173-1608
|
Squeegee blade front 35 inch tile |
$46.53
|
1 |
|
usually ships 1-5 days |
019c |
173-1609
|
Squeegee blade front 35 inch buttons |
$12.43
|
1 |
|
usually ships 1-5 days |
020 |
173-1643
|
Vacuum hose intake tube |
$43.55
|
1 |
|
usually ships 1-5 days |
021 |
173-1480
|
Cotter ring |
$2.46
|
2 |
|
ships same day |
022 |
189-0019
|
Gasket 6.30 x 16.1C .50T (OBSOLETE) |
$40.70
|
1 |
|
usually ships 11-15 days |
023 |
170-7029
|
Keeper |
$4.38
|
1 |
|
ships same day |
024 |
173-1025
|
Knob |
$22.59
|
4 |
|
usually ships 11-15 days |
025 |
999-1007
|
Washer 3/8 x 1/16 flat nylon |
$0.99
|
2 |
|
ships same day |
026 |
189-0326
|
Bumper wheel |
$29.04
|
2 |
|
usually ships 12-17 days |
027 |
189-0355
|
Wheel (gray) (OBSOLETE) |
$39.85
|
2 |
|
usually ships 12-17 days |
028 |
173-2796
|
Squeegee band rear short |
$58.38
|
1 |
|
usually ships 11-15 days |
029 |
173-1646
|
Squeegee band front |
$66.51
|
1 |
|
usually ships 11-15 days |
030 |
173-1647
|
Squeegee band rear |
$82.98
|
1 |
|
usually ships 11-15 days |
031 |
173-1648
|
Squeegee adjustment bracket |
$101.75
|
2 |
|
usually ships 1-5 days |