| # | Part | Description | Price | Req | Notes | Availability |
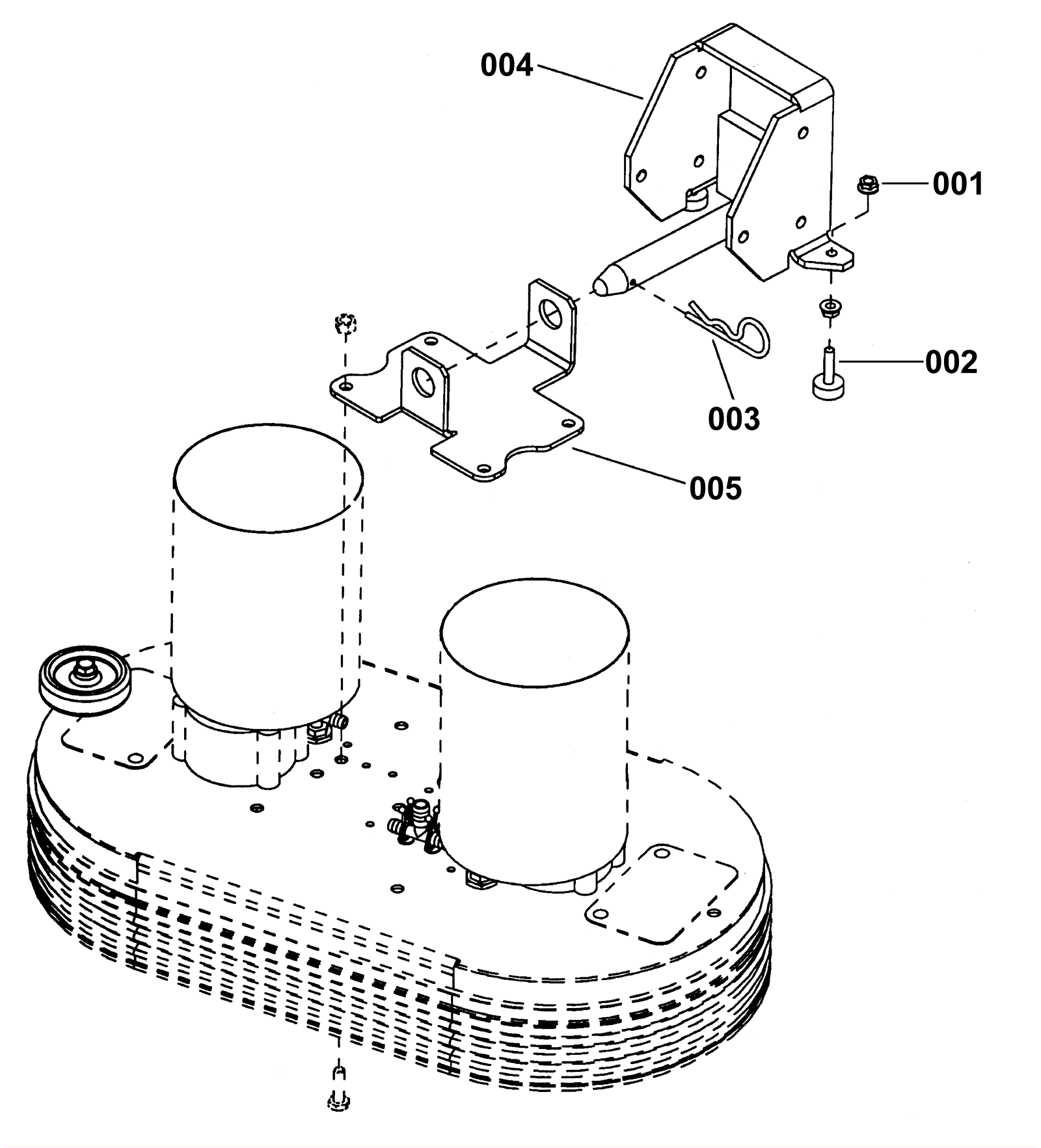
001 |
173-2465
|
Nut 5/16 external snap (OBSOLETE) |
$0.99
|
4 |
|
usually ships 11-15 days |
002 |
173-1537
|
Adjustment bumper |
$53.79
|
2 |
|
usually ships 1-5 days |
003 |
173-1538
|
Cotter hair pin |
$9.68
|
1 |
|
usually ships 1-5 days |
004 |
189-1040
|
Scrub deck pin weldment |
$20.49
|
1 |
|
usually ships 1-5 days |
005 |
173-1540
|
scrub head mount bracket |
$90.75
|
1 |
|
usually ships 1-5 days |