| # | Part | Description | Price | Req | Notes | Availability |
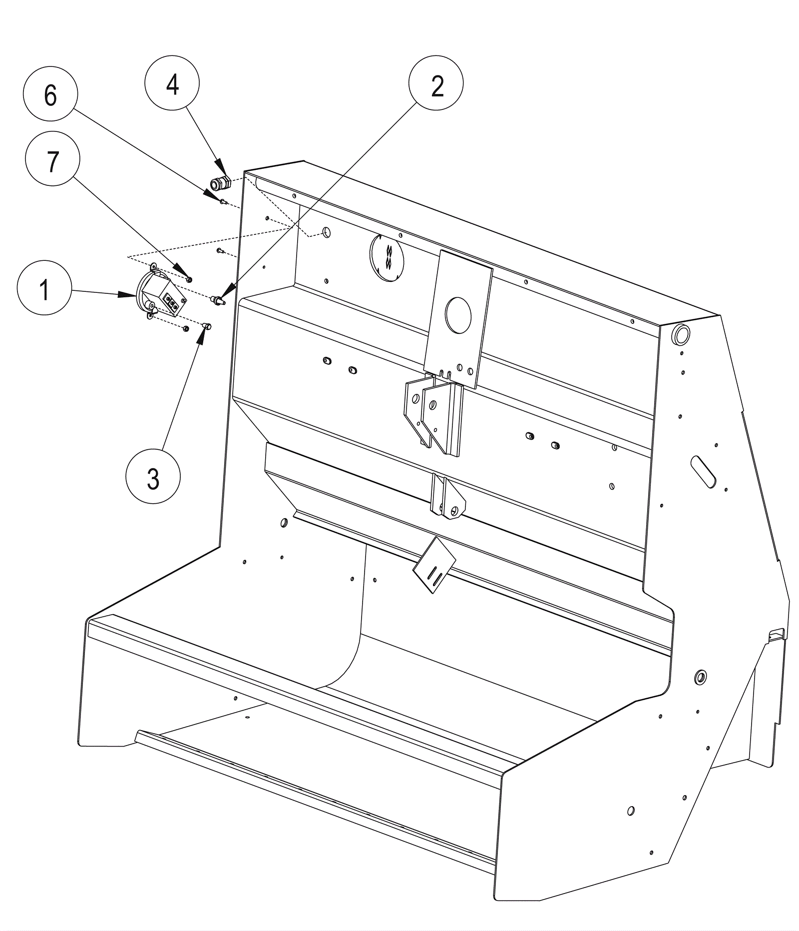
1 |
272-3377
|
Differential pressure switch regulator |
$425.50
|
1 |
|
usually ships 1-5 days |
2 |
272-3378
|
Barbed end fitting |
$12.89
|
1 |
|
usually ships 1-5 days |
3 |
272-3379
|
Vent plug filter |
$45.00
|
1 |
|
usually ships 1-5 days |
4 |
272-4904
|
Bulkhead connector |
$48.17
|
1 |
|
usually ships 1-5 days |
5 |
272-3380
|
Hose |
$19.25
|
1 |
|
usually ships 1-5 days |
6 |
170-6743
|
Screw 10-24 x 1/2 round head machine |
$13.78
|
2 |
|
usually ships 1-5 days |
7 |
999-0199
|
Nut 10-24 nylon insert lock zinc plated |
$0.99
|
2 |
|
ships same day |
N/S |
272-3381
|
Hopper filter decal |
$9.70
|
1 |
|
usually ships 1-5 days |
N/S |
272-3382
|
LED indicator light (red) |
$70.59
|
1 |
|
usually ships 1-5 days |