| # | Part | Description | Price | Req | Notes | Availability |
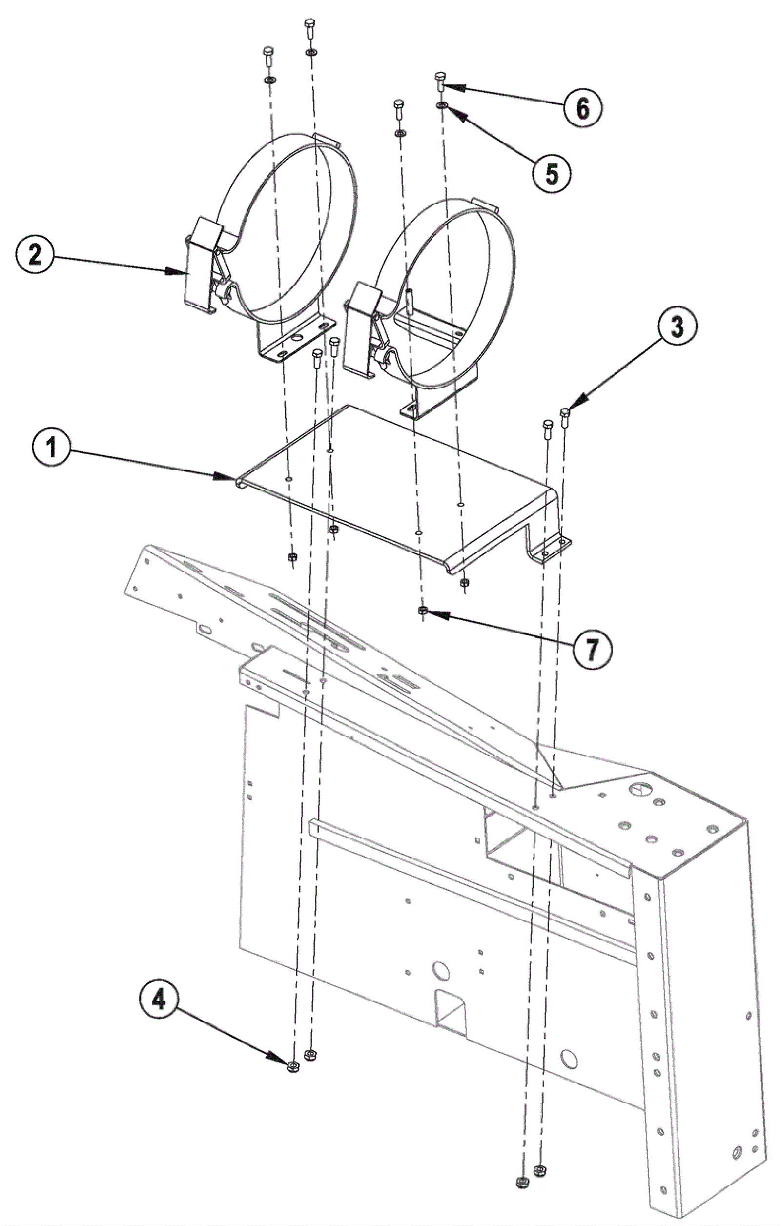
1 |
272-6133
|
Bracket mounting plate |
$249.19
|
1 |
|
usually ships 1-5 days |
2 |
272-6127
|
Tank mounting bracket |
$288.88
|
1 |
|
usually ships 1-5 days |
3 |
999-0038
|
Bolt 3/8-16 x 1 hex head grade 5 zinc plated |
$1.87
|
4 |
|
ships same day |
4 |
999-0324
|
Nut 3/8-16 nylon insert lock jam zinc plated |
$0.99
|
4 |
|
ships same day |
5 |
999-0024
|
Washer 5/16 flat stainless steel |
$1.34
|
4 |
|
ships same day |
6 |
999-0031
|
Bolt 5/16-18 x 1 hex head grade 5 zinc plated |
$0.99
|
4 |
|
ships same day |
7 |
999-0211
|
Nut 5/16-18 hex nylon insert lock zinc plated |
$0.99
|
4 |
|
ships same day |