ADVANCE TERRA 28B
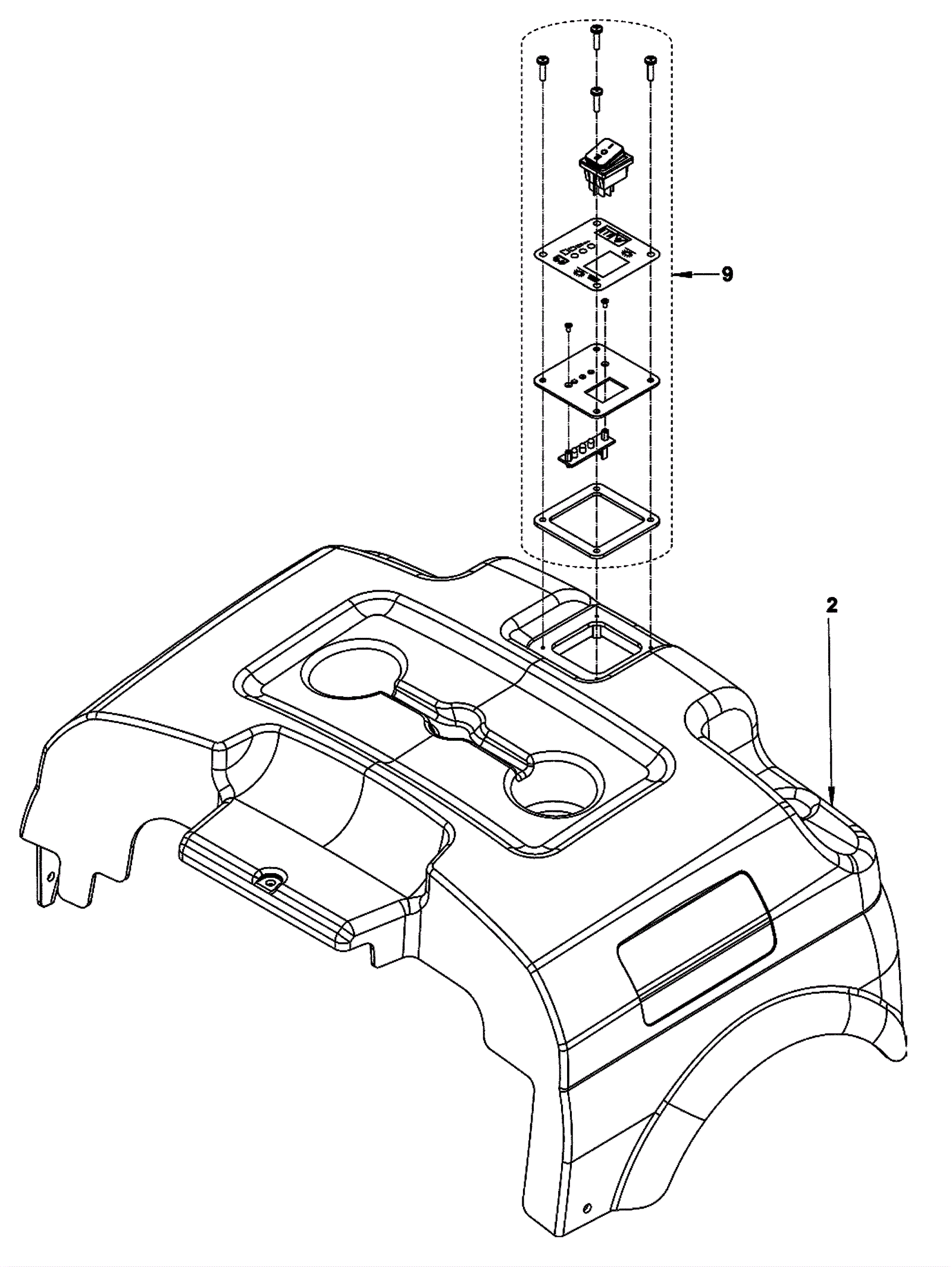
Control Panel Assembly
Click to enlarge
#
Part
Description
Price
Req
Notes
Availability
2
272-8533
Rear cover (gray)
$128.91
1
usually ships 1-5 days
9
272-7290
Control panel with decal kit
$131.95
1
usually ships 13-18 days