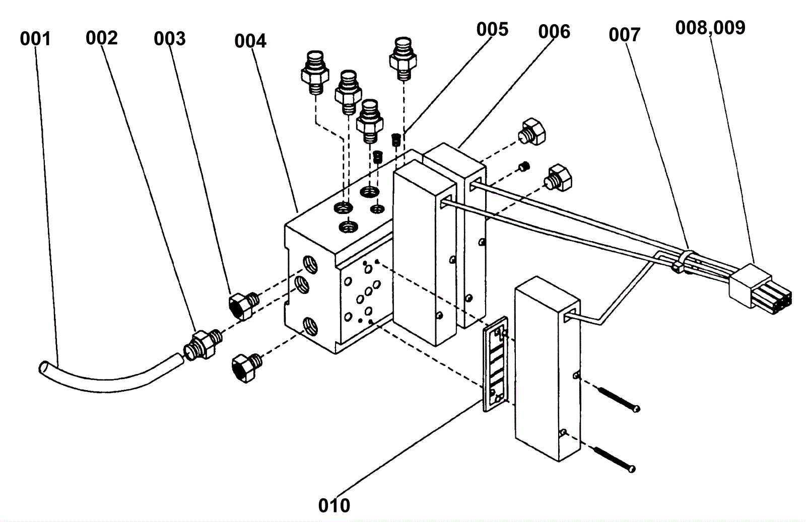
Pneumatic Manifold Assembly
Click to enlarge