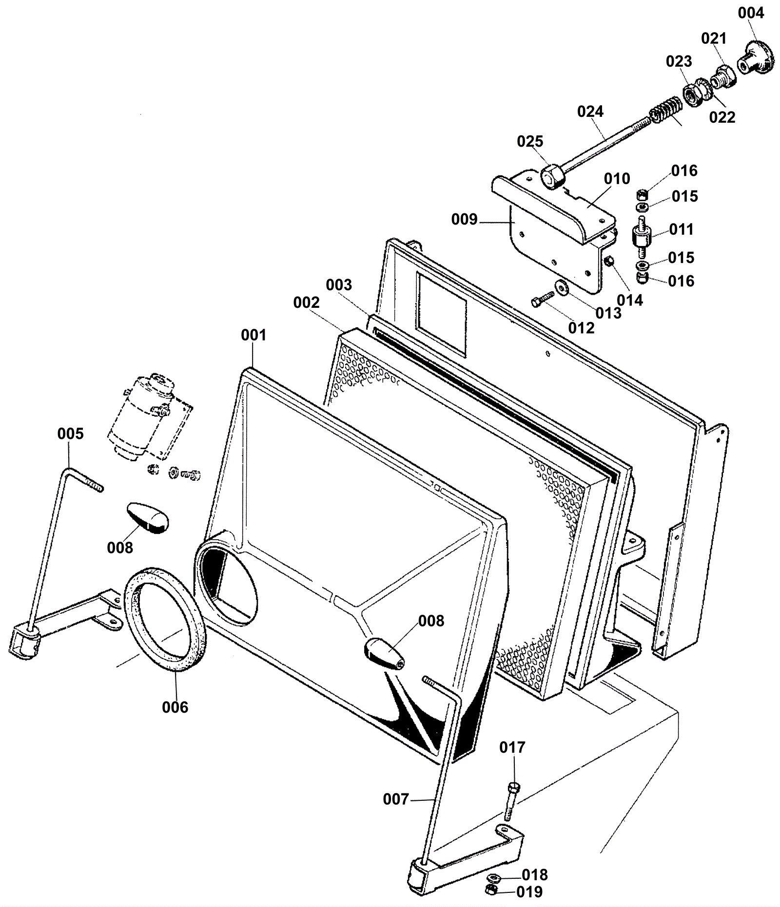
SW700S
Dust Control Filter
Click to enlarge
#
Part
Description
Price
Req
Notes
Availability
002
272-5272
Paper filter
$360.98
1
usually ships 13-18 days