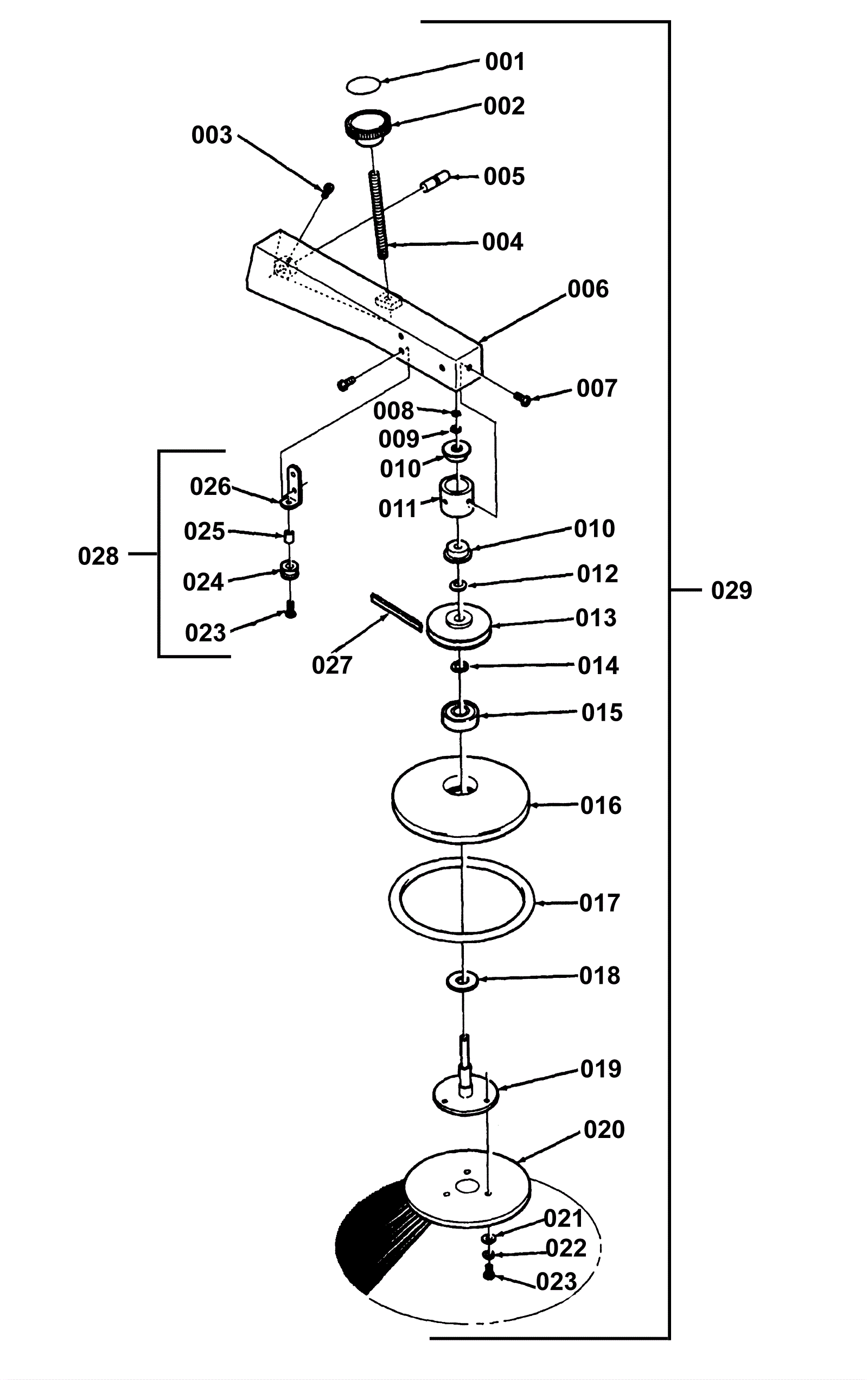
| # | Part | Description | Price | Req | Notes | Availability |
001 |
N/A
|
Not available |
Call for price
|
1 |
(Side broom decal) |
usually ships 3-26 days |
002 |
172-0078
|
Knob |
$12.89
|
1 |
|
usually ships 13-18 days |
003 |
999-0545
|
Screw 10-24 x 1/2 pan head phillips self-tapping |
$0.99
|
1 |
|
ships same day |
004 |
172-7044
|
Stud 3/8-16 x 4-5/8 (OBSOLETE) |
$21.14
|
1 |
|
usually ships 1-5 days |
006 |
172-7046
|
Arm weldment (OBSOLETE) |
$158.00
|
1 |
|
usually ships 1-5 days |
007 |
999-0175
|
Screw 1/4-20 x 3/8 pan head slotted zinc plated |
$0.99
|
6 |
|
ships same day |
008 |
172-4033
|
3/8 inch retaining ring |
$11.35
|
1 |
|
usually ships 13-18 days |
009 |
172-0404
|
Washer 25/64 x 5/8 x 1/16 flat |
$12.89
|
1 |
|
usually ships 13-18 days |
010 |
172-7058
|
Ball bearing (OBSOLETE) |
$27.32
|
2 |
|
usually ships 1-5 days |
011 |
N/A
|
Not available |
Call for price
|
1 |
(Not Available) Bearing block |
usually ships 3-26 days |
012 |
172-7048
|
Spring washer |
$12.89
|
1 |
|
usually ships 13-18 days |
013 |
172-7049
|
Pulley (OBSOLETE) |
$192.46
|
1 |
|
usually ships 1-5 days |
014 |
172-7024
|
Thrust washer (OBSOLETE) |
$6.89
|
2 |
|
usually ships 1-5 days |
015 |
172-0249
|
Bottom bearing |
$30.91
|
1 |
|
ships same day |
016 |
172-7050
|
Guard (OBSOLETE) |
$112.86
|
1 |
|
usually ships 1-5 days |
017 |
172-7051
|
Bumper (OBSOLETE) |
$19.01
|
1 |
|
usually ships 1-5 days |
018 |
172-7035
|
Washer |
$9.13
|
3 |
|
usually ships 1-5 days |
020 |
172-7053
|
Side broom |
$154.53
|
1 |
|
usually ships 13-18 days |
021 |
999-0123
|
Washer 1/4 SAE flat zinc plated |
$0.99
|
3 |
|
ships same day |
022 |
999-0060
|
Washer 1/4 split lock plain finish |
$0.99
|
3 |
|
ships same day |
023 |
999-0059
|
Screw 1/4-20 x 3/4 round head slotted zinc plated |
$0.99
|
5 |
|
ships same day |
024 |
172-7055
|
Idler pulley 1.12 x .63 (OBSOLETE) |
$14.26
|
1 |
|
usually ships 13-18 days |
025 |
172-2758
|
Bushing |
$10.23
|
1 |
|
usually ships 1-5 days |
026 |
172-7057
|
Angle (OBSOLETE) |
$9.50
|
1 |
|
usually ships 1-5 days |
027 |
172-7036
|
Belt (OBSOLETE) |
$24.41
|
1 |
|
usually ships 13-18 days |
028 |
172-7054
|
Idler assembly (OBSOLETE) |
$48.11
|
1 |
(Includes items 23 - 26) |
usually ships 1-5 days |