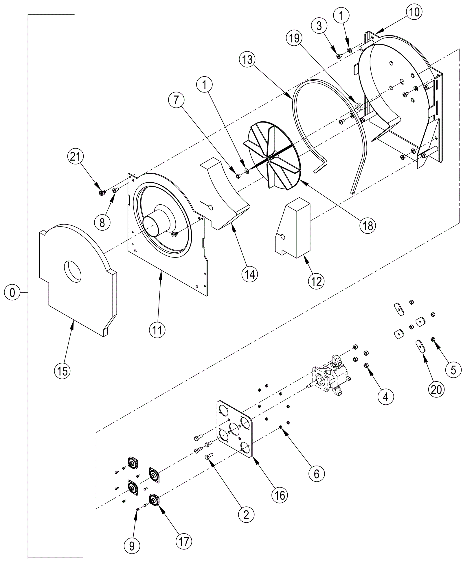
| # | Part | Description | Price | Req | Notes | Availability |
0 |
272-3793
|
Vacuum fan assembly |
$1,683.87
|
1 |
(includes 1-21) |
usually ships 13-18 days |
1 |
999-0024
|
Washer 5/16 flat stainless steel |
$1.34
|
5 |
|
ships same day |
2 |
181-0983
|
Screw 5/16-18 x 7/8 hex head |
$12.89
|
4 |
|
usually ships 1-5 days |
3 |
999-1891
|
Screw 5/16-18 x 1/2 pan head phillips stainless steel |
$0.99
|
4 |
|
usually ships 1-5 days |
5 |
999-0294
|
Nut 1/4-20 hex nylon lock type NE stainless steel |
$1.18
|
4 |
|
ships same day |
6 |
999-0227
|
Nut 6-32 hex nylon insert lock jam zinc plated |
$0.99
|
8 |
|
ships same day |
7 |
999-0340
|
Nut 5/16-24 nylon insert lock zinc plated |
$0.99
|
1 |
|
ships same day |
8 |
999-1454
|
Bolt 5/16-18 x 5/8 pan head stainless steel |
$2.00
|
4 |
|
usually ships 1-5 days |
9 |
172-4377
|
Screw 6-32 x .38 hex head |
$12.89
|
8 |
|
usually ships 1-5 days |
10 |
272-4012
|
Scroll weldment |
$577.59
|
1 |
|
usually ships 1-5 days |
11 |
272-4013
|
Vacuum fan cover weldment |
$537.32
|
1 |
|
usually ships 13-18 days |
12 |
272-4014
|
Sound reduction foam |
$12.89
|
1 |
|
usually ships 13-18 days |
13 |
272-4015
|
Seal |
$43.48
|
1 |
|
usually ships 13-18 days |
14 |
272-4016
|
Sound reduction foam |
$16.20
|
1 |
|
usually ships 13-18 days |
15 |
272-4017
|
Sound foam |
$34.23
|
1 |
|
usually ships 13-18 days |
16 |
272-4018
|
Motor mount plate |
$30.60
|
1 |
|
usually ships 1-5 days |
17 |
272-4019
|
Vibration isolator |
$50.45
|
4 |
|
usually ships 1-5 days |
18 |
272-4020
|
Impeller |
$87.31
|
1 |
|
usually ships 13-18 days |
19 |
272-4021
|
Spacer |
$14.41
|
1 |
|
usually ships 1-5 days |
20 |
272-4022
|
Snubbing washer |
$14.41
|
4 |
|
usually ships 1-5 days |
21 |
272-2177
|
Conduit clip |
$12.89
|
2 |
|
usually ships 13-18 days |