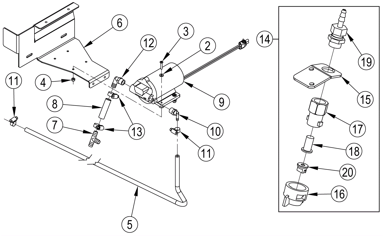
| # | Part | Description | Price | Req | Notes | Availability |
2 |
999-1862
|
Washer #10 flat SAE stainless steel |
$0.99
|
4 |
|
ships same day |
3 |
999-0400
|
Screw 10-24 x 1 pan head phillips zinc plated |
$0.99
|
4 |
|
ships same day |
4 |
999-0199
|
Nut 10-24 nylon insert lock zinc plated |
$0.99
|
4 |
|
ships same day |
5 |
272-3959
|
Polyester braid hose |
$25.75
|
1 |
|
usually ships 13-18 days |
6 |
272-3960
|
Pump mount bracket |
$159.93
|
1 |
|
usually ships 1-5 days |
7 |
172-4114
|
Tee barb |
$12.89
|
1 |
|
usually ships 13-18 days |
8 |
172-7747
|
Insulated tubing |
$12.89
|
1 |
|
usually ships 1-5 days |
9 |
272-3961
|
24V pump |
$368.72
|
1 |
|
usually ships 1-5 days |
10 |
272-3962
|
Barb elbow |
$12.89
|
1 |
|
usually ships 1-5 days |
11 |
997-2001
|
Hose clamp |
$2.42
|
2 |
|
ships same day |
12 |
172-4056
|
90 degree barbed elbow |
$11.35
|
1 |
|
usually ships 13-18 days |
13 |
172-8494
|
#6 hose clamp SAE |
$11.35
|
2 |
|
usually ships 1-5 days |
14 |
272-3940
|
Nozzle assembly |
$281.00
|
1 |
(includes 15-20) |
usually ships 1-5 days |
15 |
272-3963
|
Spray nozzle bracket |
$27.26
|
1 |
|
usually ships 1-5 days |
16 |
272-3964
|
Nozzle cap |
$12.89
|
1 |
|
usually ships 13-18 days |
17 |
272-3965
|
Nozzle adapter |
$20.91
|
1 |
|
usually ships 13-18 days |
18 |
272-7403
|
Check valve strainer |
$16.20
|
1 |
|
usually ships 13-18 days |
19 |
272-3966
|
Nozzle adapter |
$38.79
|
1 |
|
usually ships 1-5 days |
20 |
272-3967
|
Spray nozzle |
$69.07
|
1 |
|
usually ships 1-5 days |