| # | Part | Description | Price | Req | Notes | Availability |
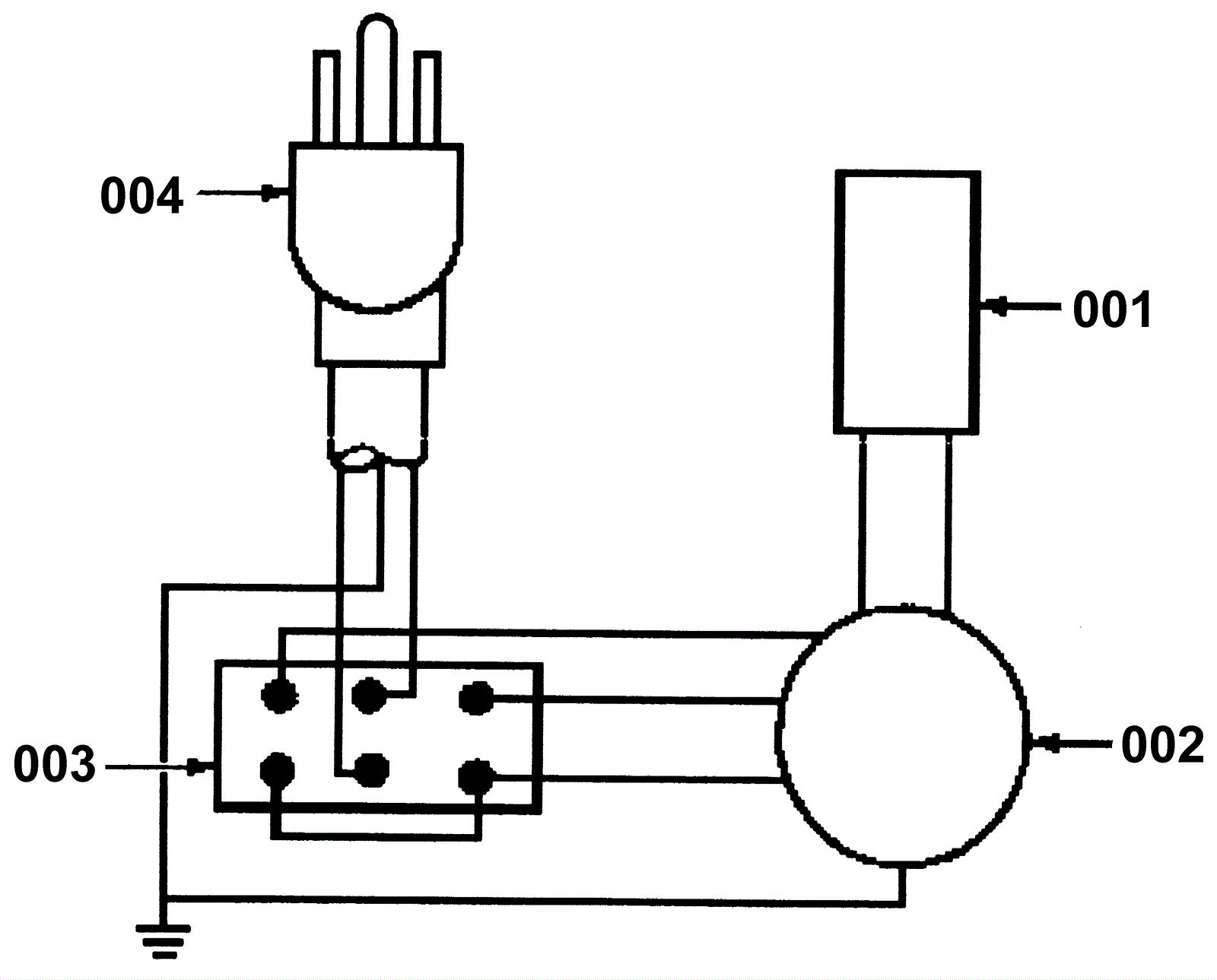
001 |
N/A
|
Not available |
Call for price
|
1 |
(capacitor) |
usually ships 3-26 days |
002 |
N/A
|
Not available |
Call for price
|
1 |
(motor) |
usually ships 3-26 days |
003 |
272-1792
|
Rocker switch |
$57.53
|
1 |
|
usually ships 1-5 days |
004a |
N/A
|
Not available |
Call for price
|
1 |
(OEM) 14/3 power cord |
usually ships 3-26 days |
004b |
991-5005
|
14/3 replacement power cord 50 foot (yellow) |
$108.51
|
1 |
(NON-OEM) (does not include strain relief) |
ships same day |
004c |
N/A
|
Not available |
Call for price
|
1 |
(Screen and cord assembly) |
usually ships 3-26 days |
004d |
991-5001
|
14/3 extension cord 50 foot (yellow) |
$103.23
|
1 |
(NON-OEM) |
ships same day |