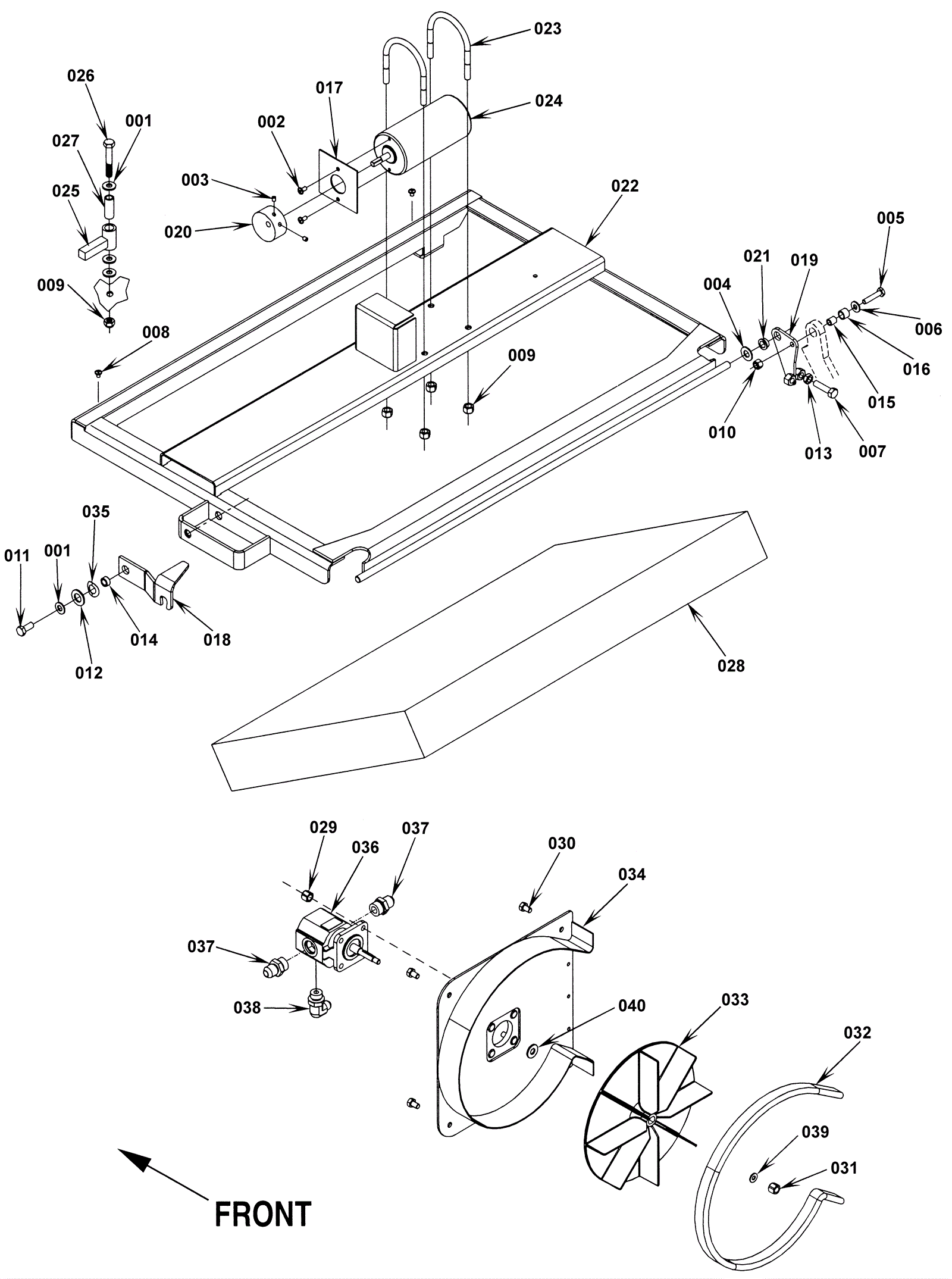
# | Part | Description | Price | Req | Notes | Availability |
000b |
272-3081
|
Impeller assembly |
$341.00
|
1 |
|
usually ships 1-5 days |
001 |
999-0024
|
Washer 5/16 flat stainless steel |
$1.34
|
7 |
|
usually ships 16-20 days |
002 |
999-0413
|
Screw 10-32 x 1/2 pan head slotted zinc plated |
$2.20
|
2 |
|
ships same day |
003 |
999-0284
|
Screw 10-24 x 3/16 cup point socket set alloy plain finish |
$0.99
|
2 |
|
ships same day |
004 |
999-0120
|
Washer 3/8 SAE flat |
$0.99
|
2 |
|
ships same day |
005 |
999-0297
|
Bolt 1/4-20 x 1 hex head stainless steel |
$2.53
|
2 |
|
ships same day |
006 |
999-0123
|
Washer 1/4 SAE flat zinc plated |
$0.99
|
2 |
|
ships same day |
007 |
999-0108
|
Bolt 5/16-18 x 1 3/4 hex head grade 5 zinc plated |
$0.99
|
2 |
|
ships same day |
008 |
999-0477
|
Screw 10-24 x 5/16 truss head phillips zinc |
$1.54
|
2 |
|
ships same day |
009 |
999-0211
|
Nut 5/16-18 hex nylon insert lock zinc plated |
$0.99
|
6 |
|
usually ships 16-20 days |
010 |
999-0152
|
Nut 1/4-20 nylon insert lock zinc plated |
$0.99
|
2 |
|
ships same day |
011 |
999-0556
|
Bolt 5/16-18 x 3/4 hex head stainless steel |
$0.99
|
1 |
|
ships same day |
012 |
172-4548
|
Washer 33/64 x 15/16 x 1/16 flat |
$10.85
|
1 |
|
usually ships 13-18 days |
013 |
999-0430
|
Nut 5/16-18 hex jam plain finish |
$0.99
|
2 |
|
ships same day |
014 |
172-4008
|
Bushing |
$33.43
|
1 |
|
ships same day |
015 |
172-0400
|
Bushing |
$15.48
|
2 |
|
usually ships 1-5 days |
016 |
172-7014
|
Bushing |
$13.40
|
2 |
|
usually ships 1-5 days |
017 |
272-3082
|
Shaker shield (OBSOLETE) |
$9.63
|
1 |
|
usually ships 1-5 days |
018 |
272-3083
|
Shaker latch |
$17.46
|
1 |
|
usually ships 1-5 days |
019 |
272-3084
|
Shaker hinge weldment |
$28.95
|
2 |
|
usually ships 1-5 days |
020 |
272-3085
|
Eccentric |
$62.70
|
1 |
|
usually ships 1-5 days |
021 |
272-3086
|
Bushing flange |
$33.78
|
2 |
|
usually ships 1-5 days |
022 |
272-3087
|
Shaker weldment (OBSOLETE) |
$537.68
|
1 |
|
usually ships 1-5 days |
023 |
272-3089
|
U-bolt |
$35.48
|
2 |
|
usually ships 1-5 days |
024 |
272-3088
|
Motor 12 VDC |
$612.44
|
1 |
|
usually ships 1-5 days |
025 |
272-3092
|
Filter clamp weldment |
$32.43
|
2 |
|
usually ships 1-5 days |
026 |
999-0178
|
Bolt 5/16-18 x 2 hex head grade 5 zinc plated |
$0.54
|
2 |
|
ships same day |
027 |
272-3093
|
Bushing |
$57.76
|
2 |
|
usually ships 1-5 days |
028 |
272-3094
|
Filter |
$475.30
|
1 |
|
usually ships 13-18 days |
029 |
999-0211
|
Nut 5/16-18 hex nylon insert lock zinc plated |
$0.99
|
4 |
|
usually ships 16-20 days |
030 |
272-1810
|
Screw 5/16-18 x 1/2 hex lock |
$13.76
|
4 |
|
usually ships 1-5 days |
031 |
999-0340
|
Nut 5/16-24 nylon insert lock zinc plated |
$0.99
|
1 |
|
ships same day |
032 |
272-3095
|
Seal trim |
$18.88
|
1 |
|
usually ships 1-5 days |
033 |
272-3096
|
Impeller |
$116.47
|
1 |
|
usually ships 13-18 days |
034 |
272-3097
|
Impeller bracket weldment |
$198.00
|
1 |
|
usually ships 1-5 days |
035 |
172-4550
|
Washer 33/64 x 1/64 bowed |
$12.31
|
1 |
|
usually ships 13-18 days |
036 |
272-3098
|
Motor (OBSOLETE) |
$751.41
|
1 |
|
usually ships 1-5 days |
037 |
272-3100
|
Connector |
$26.04
|
2 |
|
usually ships 1-5 days |
039 |
999-0024
|
Washer 5/16 flat stainless steel |
$1.34
|
1 |
|
usually ships 16-20 days |
040 |
272-1835
|
Washer flat |
$12.31
|
1 |
|
usually ships 13-18 days |