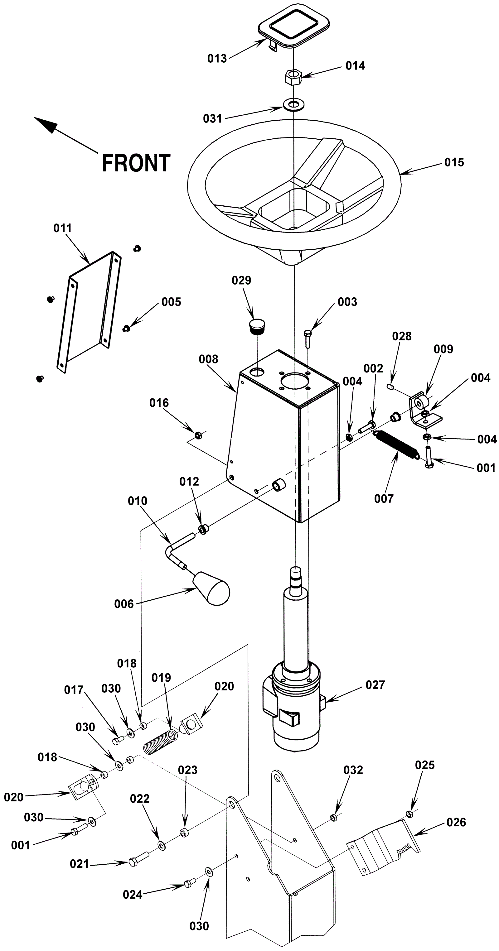
| # | Part | Description | Price | Req | Notes | Availability |
001 |
999-0136
|
Bolt 1/4-20 x 1 1/4 hex head grade 5 zinc plated |
$0.99
|
2 |
|
ships same day |
002 |
999-0297
|
Bolt 1/4-20 x 1 hex head stainless steel |
$2.53
|
1 |
|
ships same day |
003 |
999-0518
|
Bolt M6-1 x 25mm hex head full thread zinc |
$0.99
|
4 |
|
ships same day |
004 |
999-0181
|
Nut 1/4-20 hex jam plain finish |
$0.99
|
3 |
|
ships same day |
005 |
999-0340
|
Nut 5/16-24 nylon insert lock zinc plated |
$0.99
|
4 |
|
ships same day |
006 |
172-0021
|
Knob |
$25.75
|
1 |
|
usually ships 13-18 days |
007 |
999-9089
|
Washer M4 flat stainless steel |
$0.99
|
1 |
|
ships same day |
008 |
272-2962
|
Steering bracket weldment (OBSOLETE) |
$188.21
|
1 |
|
usually ships 1-5 days |
009 |
272-2963
|
Pawl weldment |
$78.98
|
1 |
|
usually ships 1-5 days |
010 |
272-2964
|
Steering lock lever |
$34.10
|
1 |
|
usually ships 1-5 days |
011 |
272-2965
|
Steering hoses cover (OBSOLETE) |
$5.94
|
1 |
|
usually ships 1-5 days |
012 |
272-2966
|
Flange bearing |
$10.23
|
2 |
|
usually ships 1-5 days |
013 |
272-7657
|
Steering wheel cover |
$12.89
|
1 |
|
usually ships 1-5 days |
014 |
172-4431
|
Nut M16-1 x 1.5mm hex |
$14.18
|
1 |
|
usually ships 1-5 days |
015 |
272-2969
|
Steering wheel |
$192.54
|
1 |
|
usually ships 1-5 days |
016 |
999-0211
|
Nut 5/16-18 hex nylon insert lock zinc plated |
$0.99
|
2 |
|
ships same day |
017 |
999-0018
|
Bolt 1/4-20 x 1/2 hex cap grade 5 zinc plated |
$0.99
|
2 |
|
ships same day |
018 |
172-0379
|
Bushing |
$17.83
|
3 |
|
usually ships 13-18 days |
019 |
172-0136
|
Spring |
$13.40
|
1 |
|
usually ships 1-5 days |
020 |
272-2970
|
Spring bracket weldment (OBSOLETE) |
$57.75
|
2 |
|
usually ships 1-5 days |
021 |
999-0424
|
Bolt 5/16-18 x 1 hex head stainless steel |
$0.99
|
2 |
|
ships same day |
022 |
999-0024
|
Washer 5/16 flat stainless steel |
$1.34
|
2 |
|
ships same day |
023 |
172-4008
|
Bushing |
$38.50
|
2 |
|
ships same day |
024 |
999-0334
|
Bolt 1/4-20 x 3/4 inch hex head stainless steel |
$3.85
|
2 |
|
usually ships 16-20 days |
025 |
999-0152
|
Nut 1/4-20 nylon insert lock zinc plated |
$0.99
|
2 |
|
ships same day |
026 |
272-2971
|
Adjustable steering latch (OBSOLETE) |
$19.91
|
1 |
|
usually ships 1-5 days |
027 |
272-2972
|
Steering unit assembly (OBSOLETE) |
$993.63
|
1 |
|
usually ships 1-5 days |
028 |
181-0079
|
Screw 5/16-18 x 5/8 socket set lock |
$5.50
|
1 |
|
usually ships 13-18 days |
029 |
272-2973
|
Plastic plug (OBSOLETE) |
$7.92
|
1 |
|
usually ships 1-5 days |
030 |
999-0123
|
Washer 1/4 SAE flat zinc plated |
$0.99
|
5 |
|
ships same day |
031 |
999-0349
|
Washer 5/8 SAE flat |
$0.99
|
1 |
|
ships same day |
032 |
999-0152
|
Nut 1/4-20 nylon insert lock zinc plated |
$0.99
|
1 |
|
ships same day |