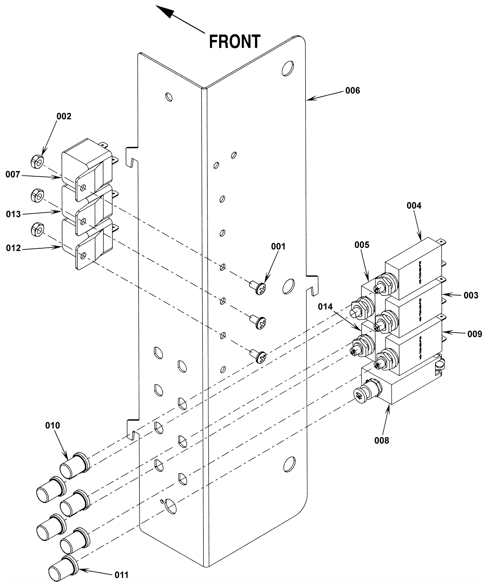
Circuit Breaker Assembly
Click to enlarge