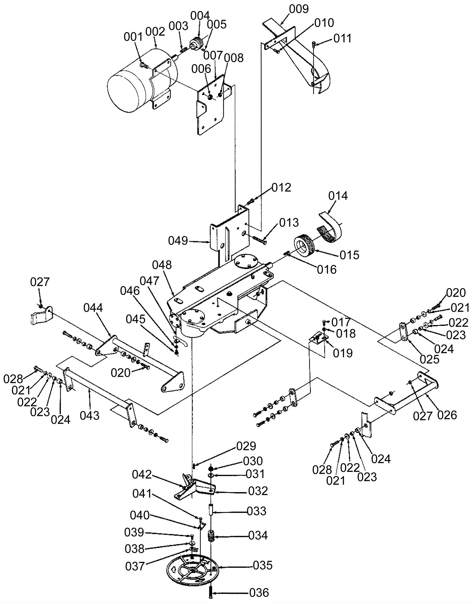
Brush Drive
Click to enlarge