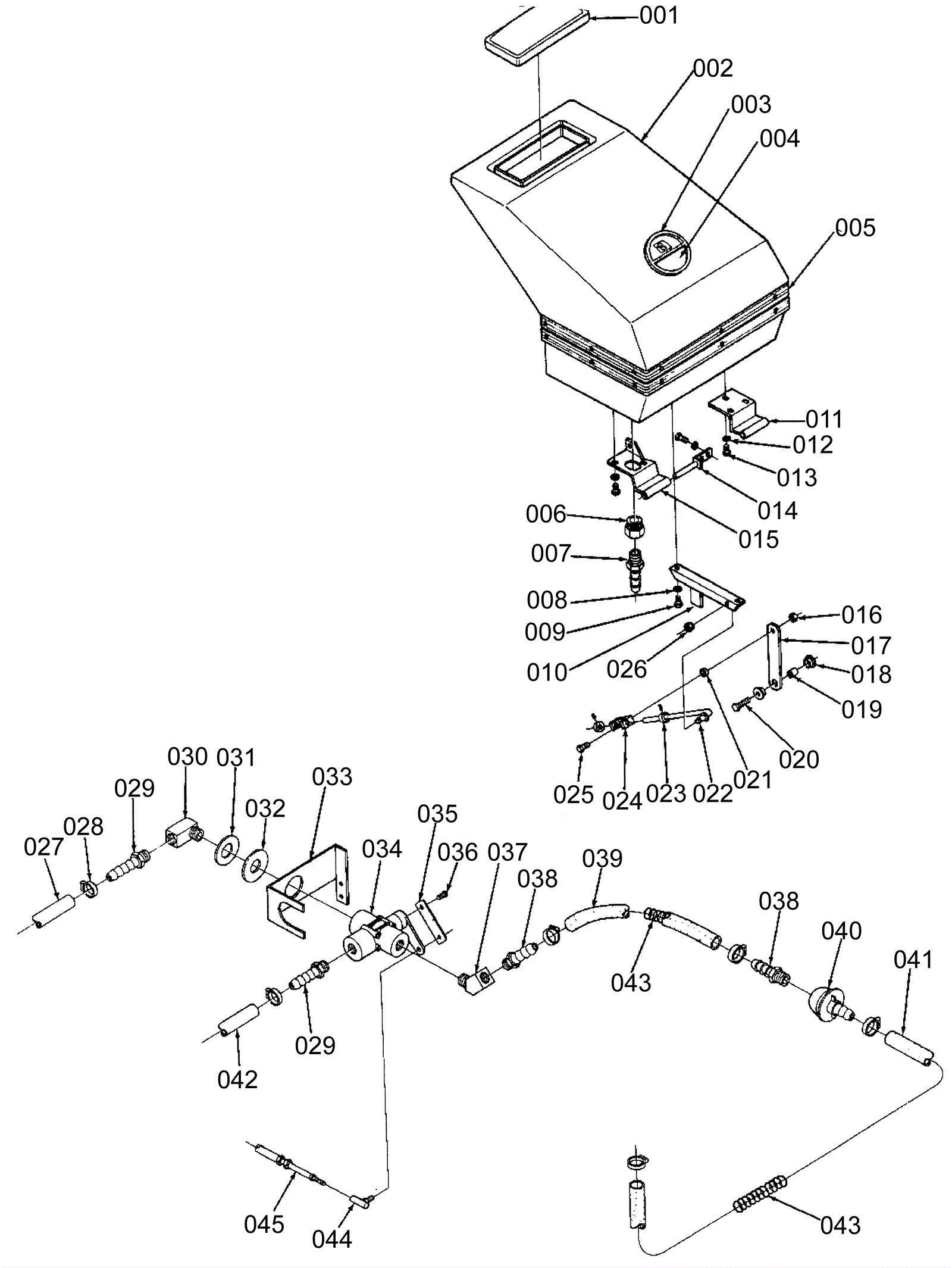
Solution Tank and Valve Assembly
Click to enlarge
#
Part
Description
Price
Req
Notes
Availability
001
272-1667
Fresh water lid (OBSOLETE)
$381.94
1
usually ships 1-5 days