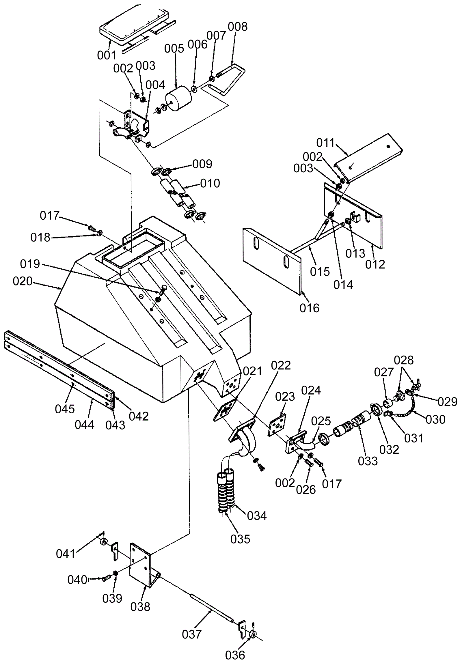
Recovery Tank
Click to enlarge
#
Part
Description
Price
Req
Notes
Availability
001a
272-7057
Recovery lid assembly (OBSOLETE)
$165.18
1
usually ships 1-5 days
001b
272-2489
Tank gasket (OBSOLETE)
$57.15
1
usually ships 1-5 days