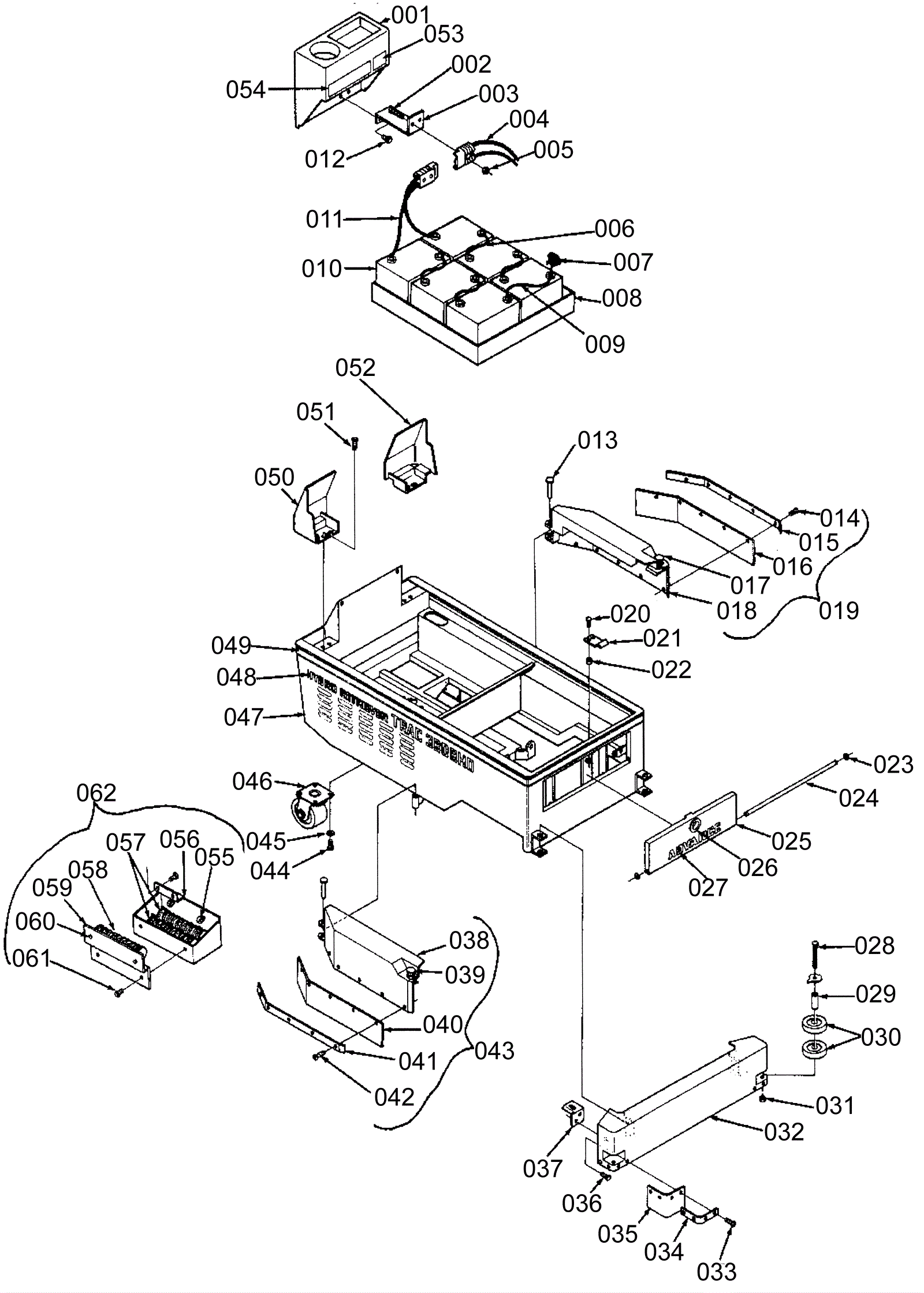
Chassis and Skirts
Click to enlarge
#
Part
Description
Price
Req
Notes
Availability
016
272-1242
Squeegee blade (OBSOLETE)
$33.88
1
usually ships 1-5 days
040
272-1242
Squeegee blade (OBSOLETE)
$33.88
1
usually ships 1-5 days