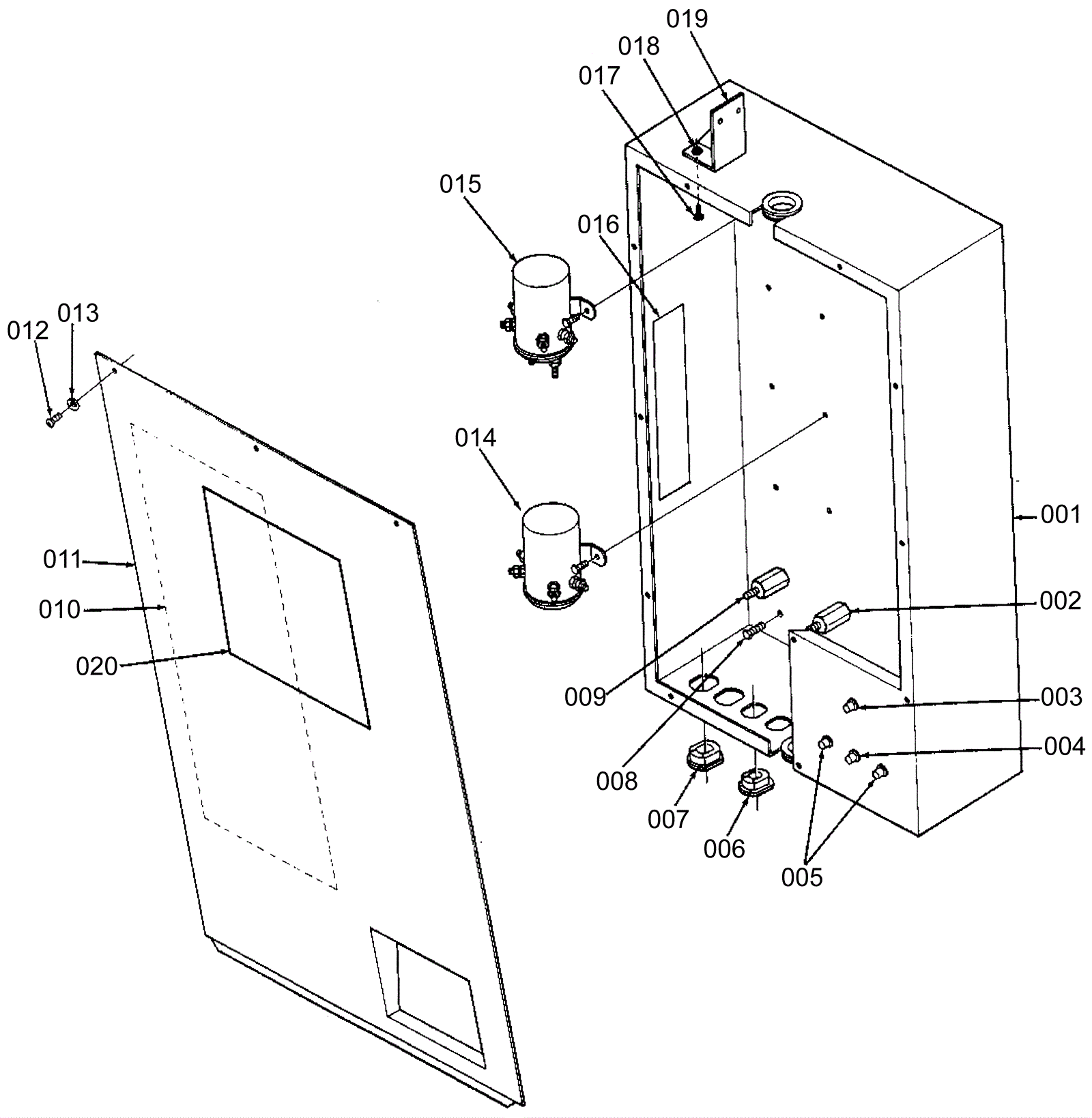
Electrical Panel
Click to enlarge