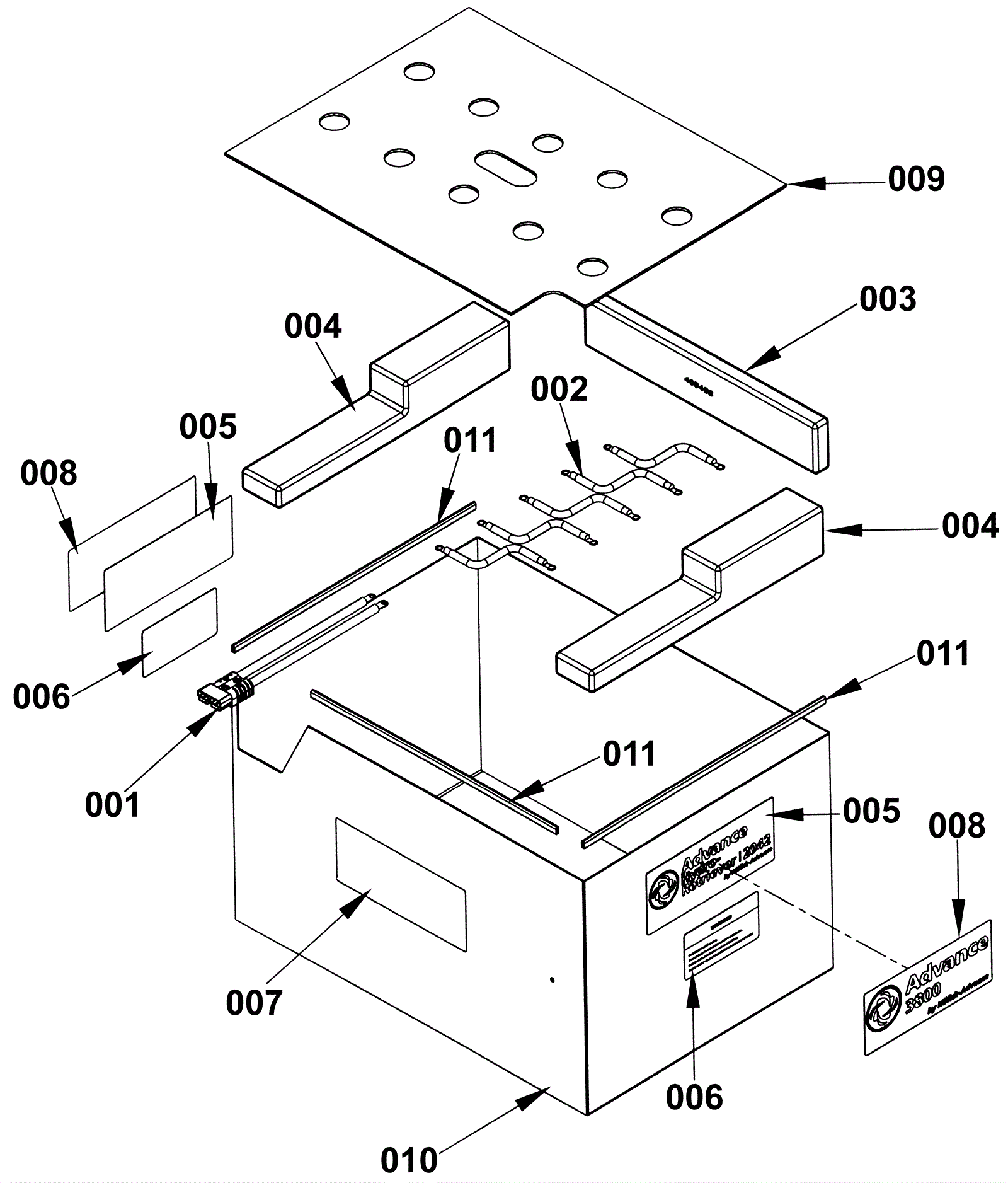
Rollout Battery Box Kit
Click to enlarge