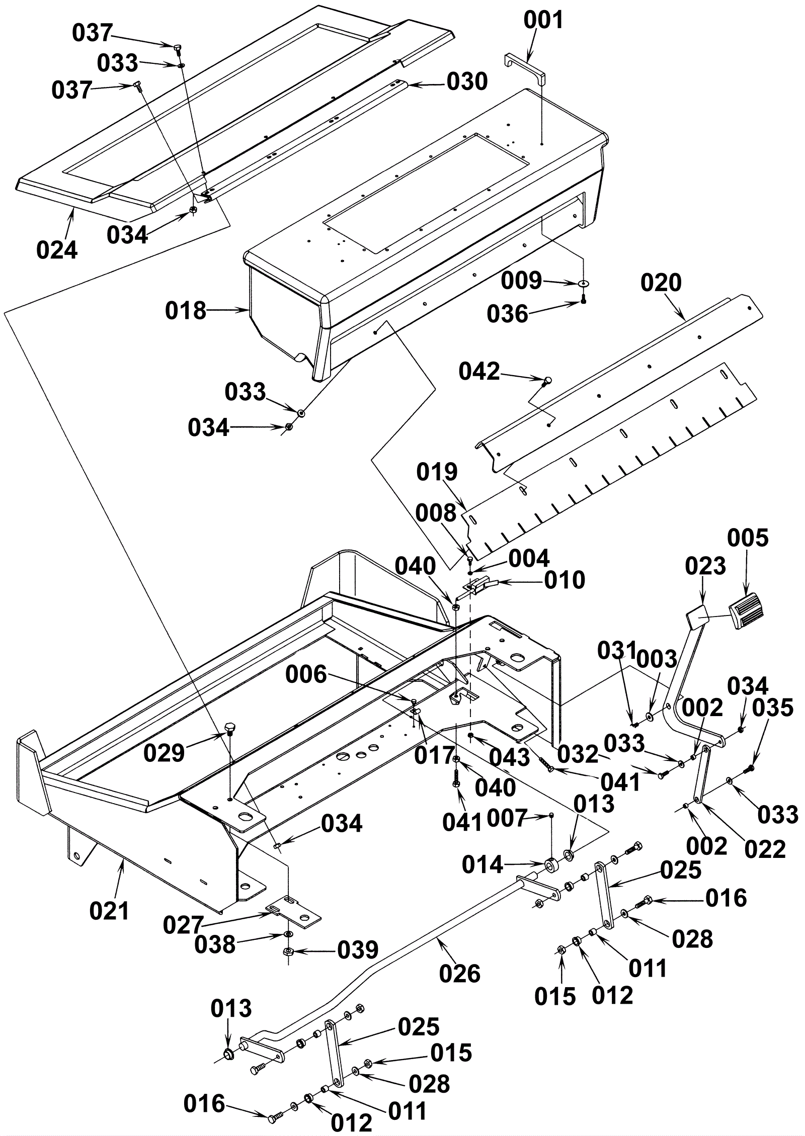
Presweep Kit - Frame and Hopper
Click to enlarge