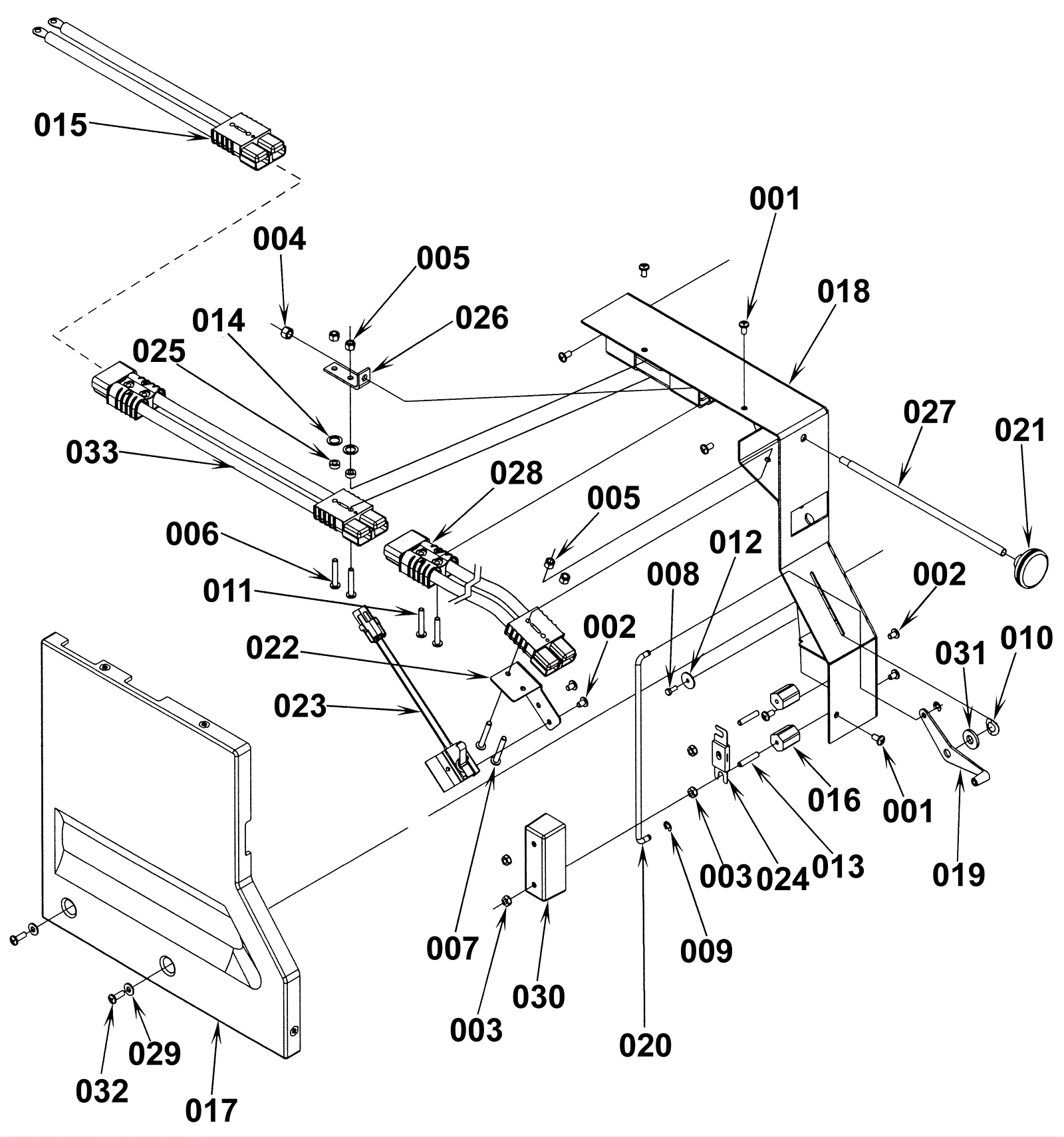
Control Box
Click to enlarge