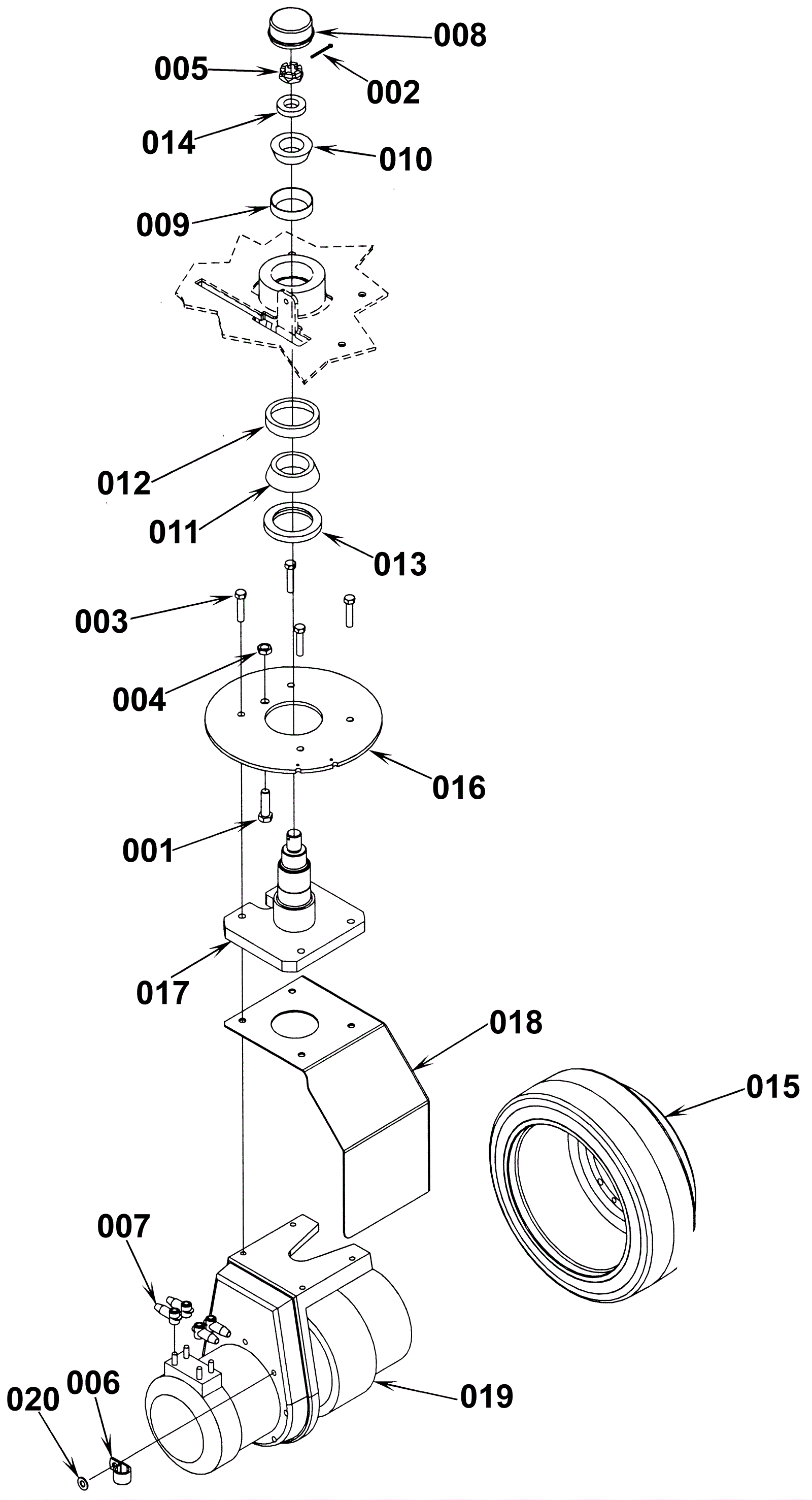
Front Wheel System
Click to enlarge