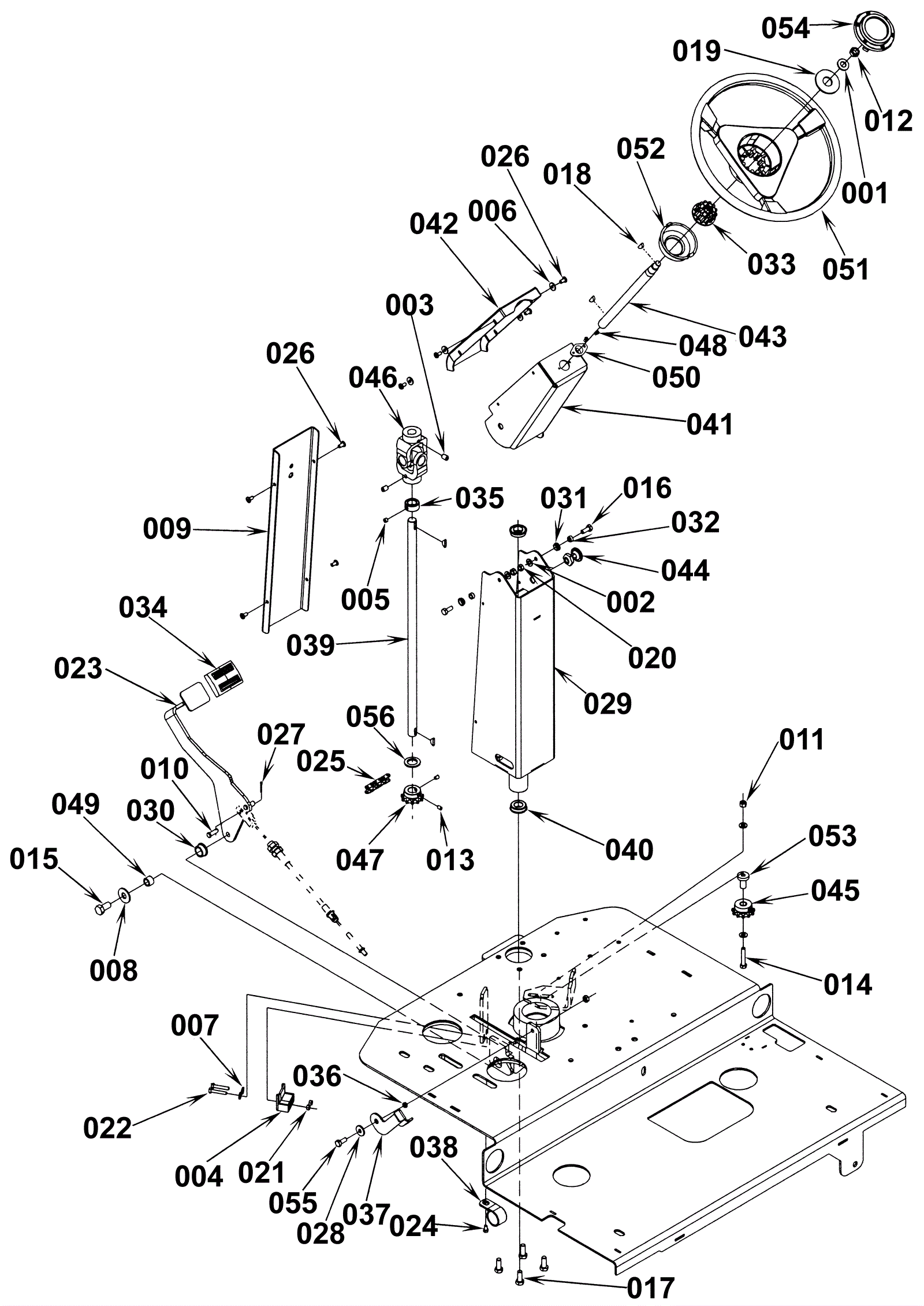
Steering Assembly
Click to enlarge