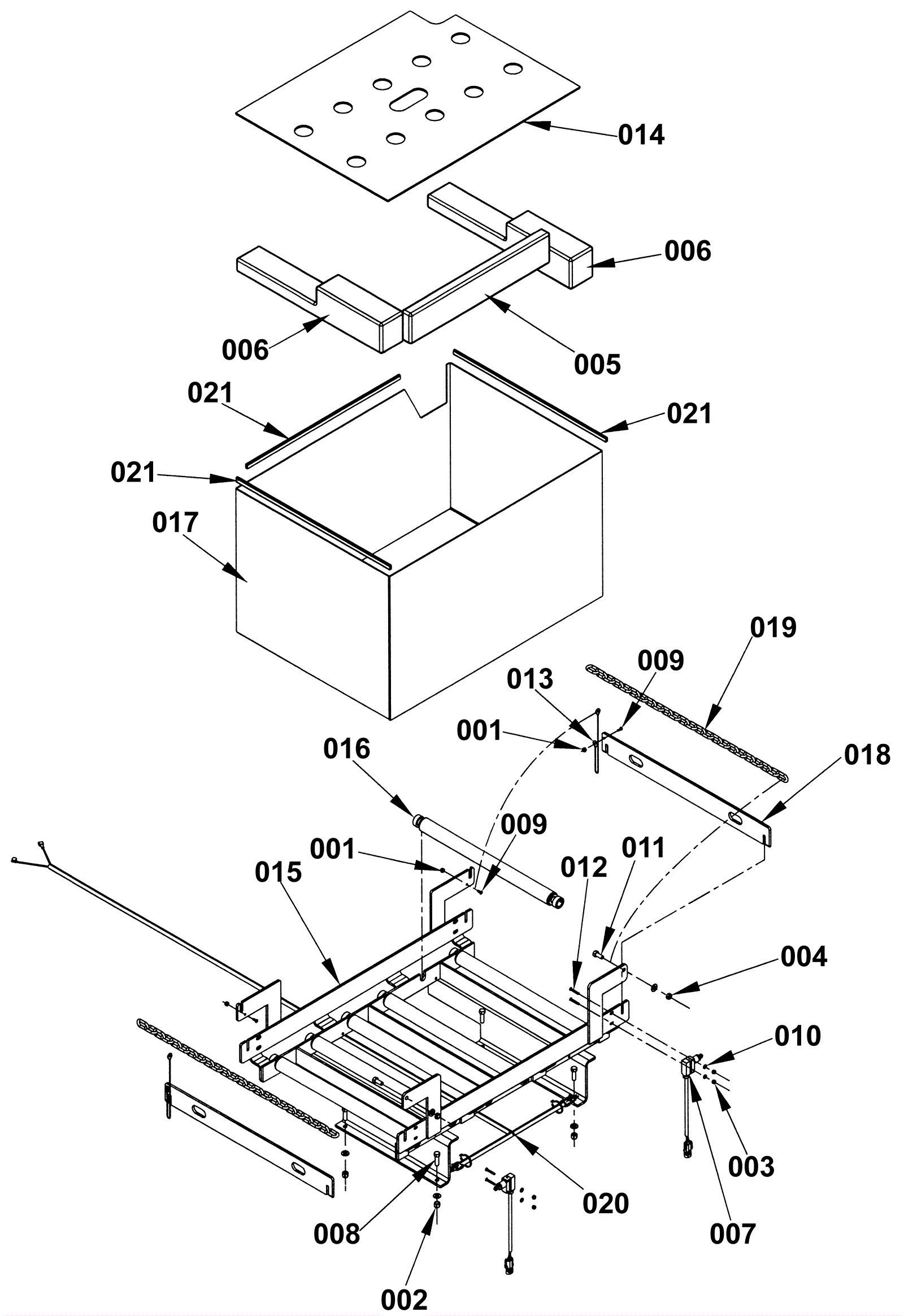
Chassis System - Battery Roll Out
Click to enlarge