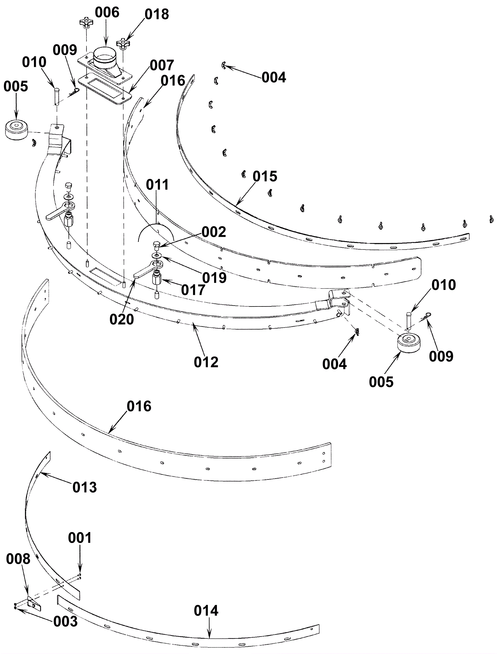
CAPTOR 4800P
Squeegee Assembly 2
Click to enlarge
#
Part
Description
Price
Req
Notes
Availability
06
472-6306
ADAPTER SQUEEGEE (OBSOLETE)
$186.96
1
usually ships 13-18 days